Curiosii for ever!
: Car repair manuals for everyone.
Home
>>
Mazda
>>
2000
>>
Millenia V6-2.5L DOHC
>>
Repair and Diagnosis
>>
Powertrain Management
>>
Emission Control Systems
>>
Exhaust Gas Recirculation
>>
EGR Boost Control Solenoid
>>
Testing and Inspection
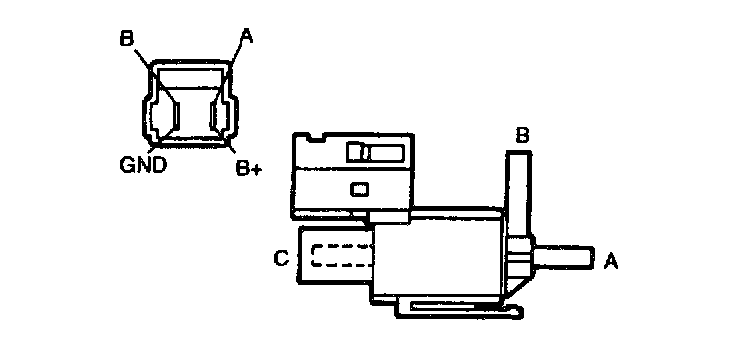
EGR Boost Control Solenoid: Testing and Inspection
1.
Inspect air flow between ports of the solenoid valve under the following condition.
-
If not as specified, replace the EGR boost sensor solenoid valve.