Curiosii for ever!: Car repair manuals for everyone.

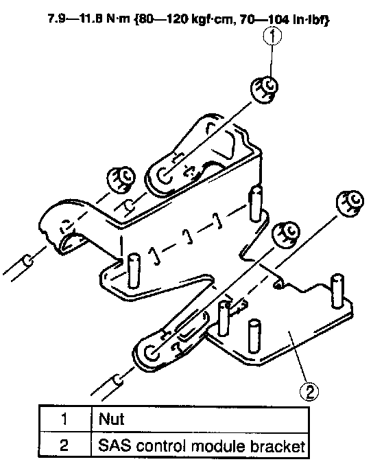
SAS Control Module Bracket

WARNING:
- Handling the SAS control module improperly can accidentally deploy the air bag modules which may cause serious injury. Read AIR BAG SYSTEM SERVICE WARNINGS before handling the SAS control module. (See AIR BAG SYSTEM SERVICE WARNINGS.)





1. Remove the heater unit. (See Heater, Ventilation and Air Conditioning, HEATER UNIT REMOVAL/INSTALLATION.)
2. Remove the SAS control module. (See SAS CONTROL MODULE REMOVAL/INSTALLATION.)
3. Remove in the order indicated in the table.
4. Install in the reverse order of removal.