Curiosii for ever!
: Car repair manuals for everyone.
Home
>>
Mazda
>>
1999
>>
Protege ES L4-1839cc 1.8L DOHC
>>
Repair and Diagnosis
>>
Transmission and Drivetrain
>>
Automatic Transmission/Transaxle
>>
Service and Repair
>>
Overhaul
>>
Automatic Transaxle FN4A-EL
>>
FN4A-EL Automatic Transaxle Service
>>
Automatic Transaxle Assembly
>>
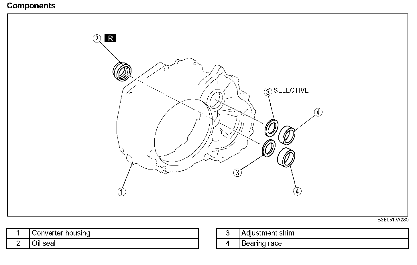
Components
Components
Components
Automatic Transaxle (Part 1):
Automatic Transaxle (Part 2):
Automatic Transaxle (Part 3):
Automatic Transaxle (Part 4):
Automatic Transaxle (Part 5):