Curiosii for ever!: Car repair manuals for everyone.

Vehicle Speed Sensor (VSS)

VEHICLE SPEED SENSOR (VSS)




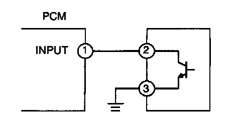
1. Measure the # 1 PCM terminal voltage and confirm that it is at 0 volts or 5 volts when the ignition switch is on and the engine is at idle.
- If it is at 0 volts or 5 volts, proceed to symptom troubleshooting No.29 "Intermittent Concerns".
- If not, inspect for the following points concerning the PCM connector.

- If there are no problems, proceed to next step.
- Female terminal opening looseness
- Coupler (pin holder) damage
- Pin discoloration (blackness)
- Harness/pin crimp is loose or disconnected.

2. Measure the # 2 sensor terminal voltage and confirm that it is at 0 volts or 5 volts when the ignition switch is on and the engine is at idle.
- If it is at 0 volts or 5 volts, proceed to symptom troubleshooting No. 29 "Intermittent Concerns".
- If not, inspect for the following points concerning the sensor connector.

- If there are no problems, proceed to next step.
- Female terminal opening looseness
- Coupler (pin holder) damage
- Pin discoloration (blackness)
- Harness/pin crimp is loose or disconnected.

3. Confirm that the # 3 terminal switch voltage is at 0 volts.
- If it is at 0 volts, inspect the sensor. If necessary, replace the sensor.

- If not, inspect for the following:
- Open circuit in harness
- Female terminal opening looseness
- Coupler (pin holder) damage
- Pin discoloration (blackness)
- Harness/pin crimp is loose or disconnected.