Curiosii for ever!
: Car repair manuals for everyone.
Home
>>
Mazda
>>
1999
>>
Millenia V6-2.5L DOHC
>>
Repair and Diagnosis
>>
Powertrain Management
>>
Tune-up and Engine Performance Checks
>>
Distributor
>>
Service and Repair
>>
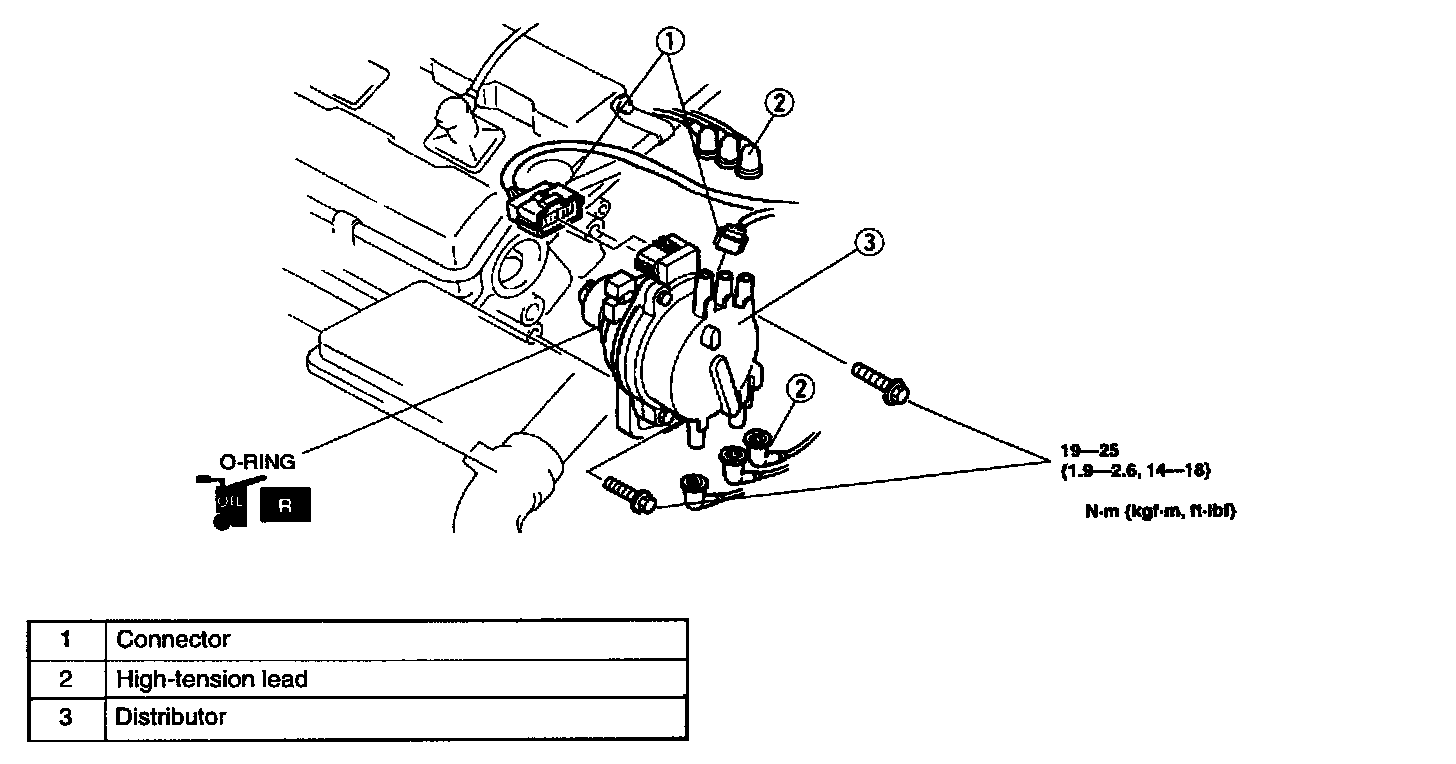
Removal/Installation
Removal/Installation
1.
Disconnect the negative battery cable.
2.
Remove in the order indicated in the table.
3.
Install in the reverse order of removal.