Curiosii for ever!
: Car repair manuals for everyone.
Home
>>
Mazda
>>
1999
>>
MX-5 Miata L4-1.8L DOHC
>>
Repair and Diagnosis
>>
Powertrain Management
>>
Emission Control Systems
>>
Locations
Emission Control Systems: Locations
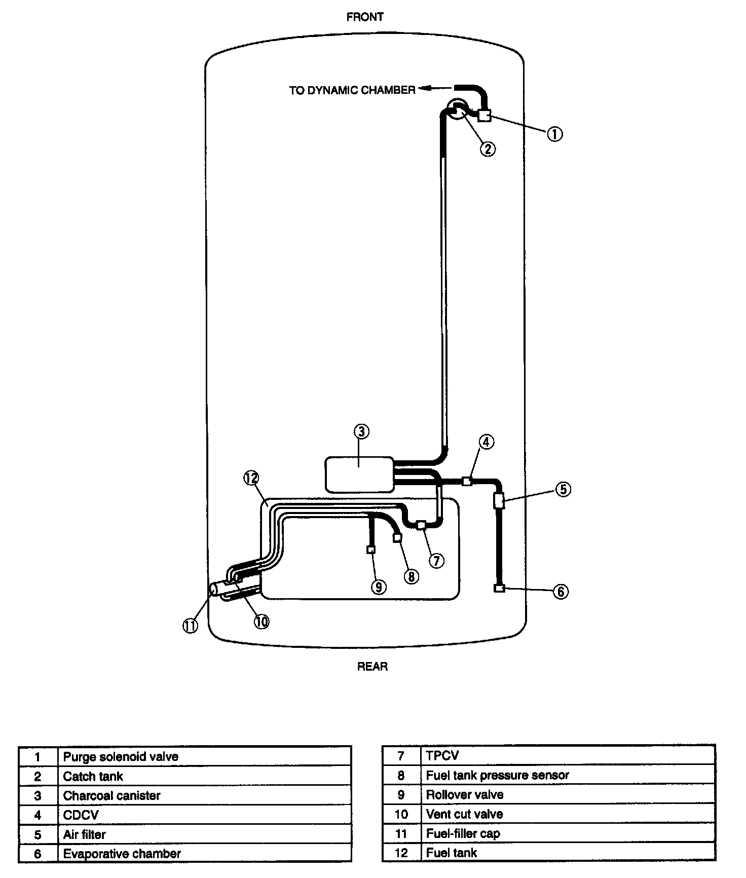
EVAPORATIVE EMISSION CONTROL SYSTEM
Figure 1
Figure 2
Figure 3
EMISSION SYSTEM (ENGINE COMPARTMENT SIDE)