Curiosii for ever!: Car repair manuals for everyone.

With Automatic Transaxle

Adjustment
Using the SST (104 Pin Breakout Box)
1. Verify that the throttle valve is fully closed.




2. Connect the SST to the PCM as shown.
3. Disconnect the throttle position sensor connector.
4. Turn the ignition switch to ON.




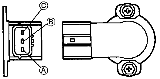
5. Using a voltmeter, measure the voltage at connector side terminal A.

Specification: 4.5-5.5 V

6. Reconnect the throttle position sensor connector.




7. Loosen the sensor mounting screws.

Closed Throttle Position:




8. Adjust the sensor output voltage by rotating the sensor.




9. Tighten the sensor mounting screws.

Tightening torque: 1.6-2.3 Nm (16-24 kgf/cm., 14-21 in.lbs.)

10. Fully open the throttle valve and verify that the PCM terminal voltages are within the specification.

Wide Open Throttle Position:




11. Disconnect the SST.
12. If not as specified, replace the throttle position sensor.

Using the SST (NGS)
1. Verify that the throttle valve is closed throttle position.




2. Connect the SSTs to the data link connector 2.
3. Disconnect the throttle position sensor connector.
4. Turn the ignition switch to ON.
5. Using a voltmeter, measure the voltage at connector side terminal A.

Specification: 4.5-5.5 V

6. Reconnect the throttle position sensor connector.
7. Loosen the sensor mounting screws.




8. Select the "PID/DATA MONITOR AND RECORD" function of New Generation Star (NGS) tester.
9. Select the TP V on the NGS.

Specification (Closed Throttle Position):




10. Adjust the TP V output voltage by rotating the sensor.




11. Tighten the sensor mounting screws.

Tightening torque: 1.6-2.3 Nm (16-24 kgf/cm., 14-21 in.lbs.)

12. Fully open the throttle valve and verify that the TPS terminal voltage are within the specification.

Specification (Wide open throttle):




13. Disconnect the SSTs.
14. If not as specified, replace the throttle position sensor.