Curiosii for ever!: Car repair manuals for everyone.

Fuel Pump Relay


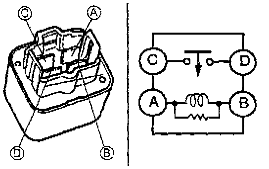
FUEL PUMP RELAY
Inspection




1. Remove the cruise actuator.
2. Remove the fuel pump relay.
3. Apply battery positive voltage and check continuity between terminals of the relay by using an ohmmeter.







4. If not as specified, replace the fuel pump relay.