Curiosii for ever!: Car repair manuals for everyone.

Oxygen Sensor: Testing and Inspection

Terminal Voltage Inspection




1. Connect the Engine Signal Monitor to the ECM.




2. Connect a voltmeter (set to 1 V range) to the special output connectors of the Engine Signal Monitor as shown.
3. Set the Engine Signal Monitor to position 20 (RH) or 2D (LH).
4. Run the engine at 4,500 rpm until the voltmeter indicates approx. O.7V.
5. Measure the voltage while increasing and decreasing the engine speed suddenly several times.

Note:
- With the brake pedal depressed, the monitor light shows operation of the right heated oxygen sensor.
- With the brake pedal released, the monitor light shows operation of the left heated oxygen sensor.

Specification
Engine condition Voltage (V)
While decelerating Approx. 0
While accelerating Above 0.8


Sensitivity




1. Connect the SSTs to the data link connector as shown.
2. Set system select to position 1.
3. Set test switch to 02 MONITOR.
4. Increase the engine speed from 2,000 to 3,000 rpm, and verify that the monitor lamp flashes for 10 sec.. If not as specified, replace the heated oxygen sensor.

Monitor Lamp: Flashes more than 8 times/10 Sec.

5. Replace the heated oxygen sensor if not as specified.

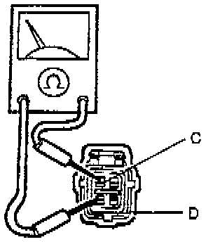
Heater




1. Measure resistance between terminals C and D.

Resistance: 6 Ohms (20°C {68°F})

2. Replace the heated oxygen sensor if not as specified.