Curiosii for ever!: Car repair manuals for everyone.

EGR Control Solenoid: Testing and Inspection

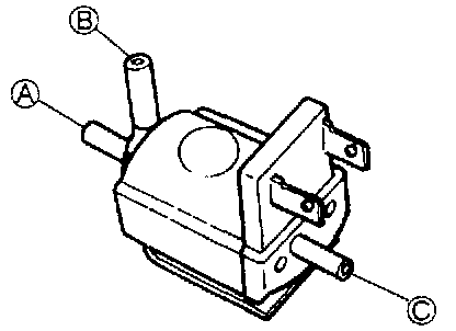
Solenoid Testing:






1. Unplug connector and check that continuity exists across solenoid terminals.
2. Verify that air flows between ports:

Port Air Flow
A - B No
A - C No
B - C Yes

3. Connect battery voltage across solenoid terminals and check air flow:

Port Air Flow
A - B Yes
A - C No
B - C No

4. If not as specified, replace solenoid valve.