Curiosii for ever!
: Car repair manuals for everyone.
Home
>>
Mazda
>>
1990
>>
626 L4-2184cc 2.2L SOHC F2
>>
Repair and Diagnosis
>>
Starting and Charging
>>
Starting System
>>
Diagrams
>>
Connector Views
>>
Manual Transaxle
Manual Transaxle
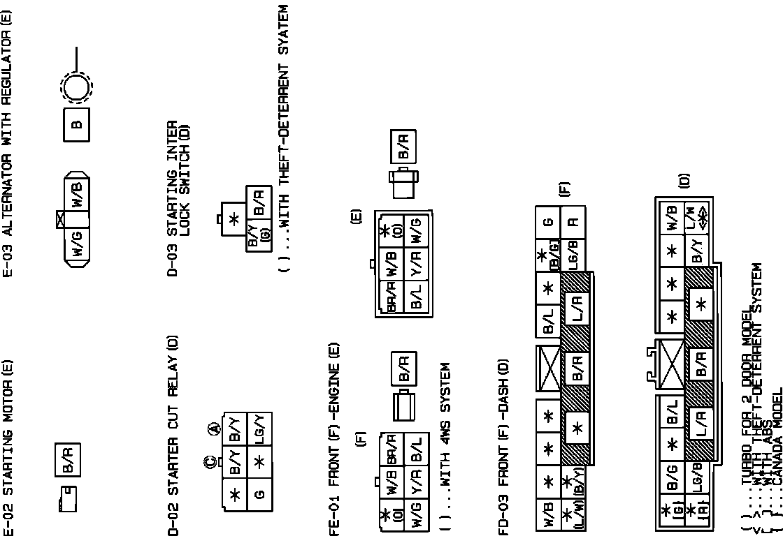
Charging & Starting System. Manual Transmission. Connector Identification: