Curiosii for ever!: Car repair manuals for everyone.

Main Relay (Computer/Fuel System): Testing and Inspection

1. Check that a "clicking" sound is heard at the main relay when turning the ignition switch OFF and ON.

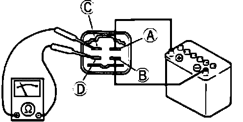
Terminal Identification And Ohmmeter Connection:





2. Apply 12 volts and a ground to terminals "A" and "B" of the main relay as shown in the diagram.
3. Check for continuity at the terminals with an ohmmeter. With 12 volts applied to the terminals, there should be continuity between terminals "C" and "D" of the main relay. With the voltage removed, there should be no continuity between terminals "C" and "D" of the main relay.