Curiosii for ever!: Car repair manuals for everyone.

CPU - Inoperative, Electrical Malfunction

89mazda04

Category APPLICABLE MODEL/S
15 1988-89 626/MX-6
w/ Burglar Alarm
Subject Bulletin No. 077/89
ELECTRICAL MALFUNCTION OF C.P.U. Issued 5/5/89
Revised



DESCRIPTION

If you encounter a 626 or MX-6 with the following customer complaints, the cause may be an inoperative C.P.U.

^ Inoperative interior and courtesy light. NOTE:
Before replacing the CPU, examine the switch to determine that it is working properly.
^ Inoperative IG key illumination light and key reminder alarm.
^ Inoperative seat belt warning light and alarm.
^ Inoperative burglar alarm.

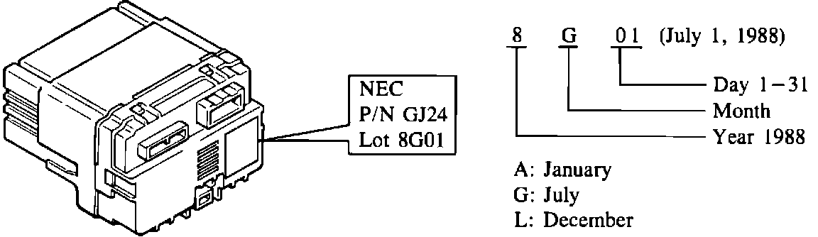
The soldering of C.P.U. terminal may crack and this will cause electrical malfunction of C.P.U. In this case, replace the C.P.U. with the modified one as shown. The modified C.P.U. has been installed in the production vehicles since November 1, 1988.

VIN OF PRODUCTION CHANGE

1989 MX-6 (produced in the U.S.A.) 1YVGD31**K5212501 November 1, 1988
1989 626 & MX-6 (produced in Japan) JM1GD****K1731830 November 1, 1988

PARTS INFORMATION


PART NUMBER DESCRIPTION

GJ24 67 580A C.P.U.


NOTE:
Although the part number of the C.P.U. has not been changed, the modified C.P.U. can be distinguished by a lot number on the C.P.U. as shown below.