Curiosii for ever!: Car repair manuals for everyone.

Distributor: Testing and Inspection

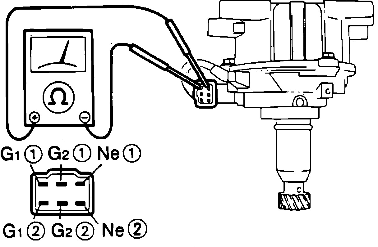
Fig. 92 Distributor connector terminal identification.:





1. Disconnect distributor connector.
2. Using ohmmeter, check resistance between terminals, Fig. 92. resistance should be 140-180 ohms at 68°F between terminals Ne (1) and Ne (2), between terminals G1 (1) and G1 (2) and between terminals G2 (1) and G2 (2).