Curiosii for ever!: Car repair manuals for everyone.

Tool - Preload Adapter Modification

83mazda05
Category 7 060/83
3/28/83

1983 626


SUBJECT Preload Adapter Modification for 1983 626



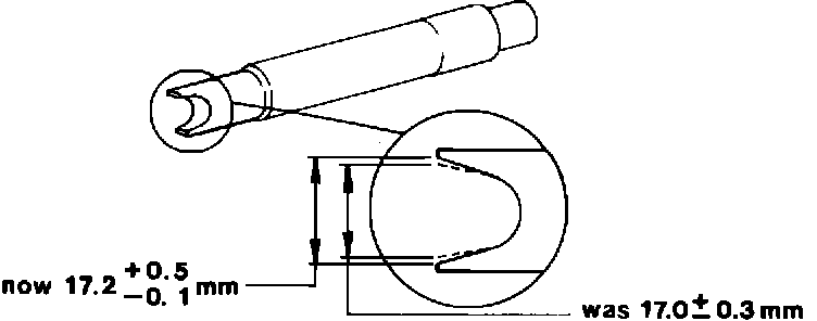
DESCRIPTION The GLC preload adapter (49FT 01 515) has been modified to be used on the 1983
626 and the part number has been changed to 49FT-01-515A.

This modification can be done by machining the open end of the GLC adapter (49FT 01 515)..