Knock Sensor: Service and Repair
-
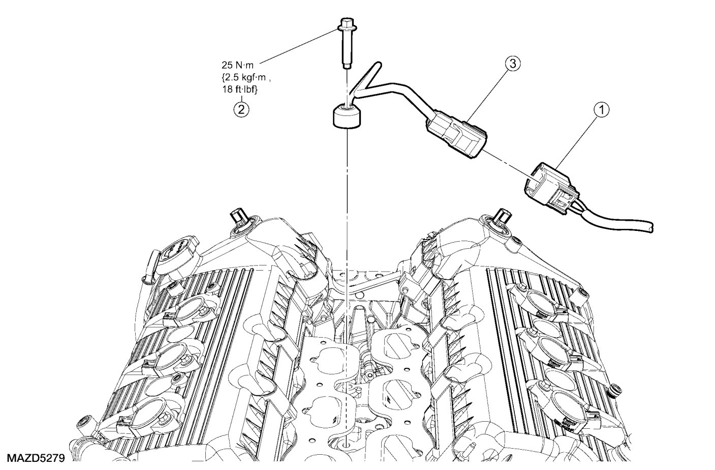
KNOCK SENSOR (KS) REMOVAL/INSTALLATION - 3.0L
Cylinder Head-Mounted Knock Sensor (KS)
Engine Block-Mounted Knock Sensor (KS)
Removal
Cylinder head-mounted knock sensor (KS)
1. Disconnect the Knock Sensor (KS) electrical connector.
2. Remove the bolt and the KS.
Engine block-mounted KS
1. Remove the lower intake manifold. See - Lower Intake Manifold Removal/Installation.
2. Disconnect the KS electrical connector.
3. Remove the bolt and the KS.
Installation
Engine block-mounted KS
1. Install the KS and the bolt.
- Tighten to 25 Nm {2.5 kgf-m, 18 ft-lbf}.
2. Connect the KS electrical connector.
3. Install the lower intake manifold. See - Lower Intake Manifold Removal/Installation.
Cylinder head-mounted KS
1. Install the KS and the bolt.
- Tighten to 25 Nm {2.5 kgf-m, 18 ft-lbf}.
2. Connect the KS electrical connector.