Curiosii for ever!: Car repair manuals for everyone.

Component Test - Window Control Switch - Driver Side



--
COMPONENT TEST - WINDOW CONTROL SWITCH - DRIVER SIDE

1. Remove the window control switch. See Service and Repair.

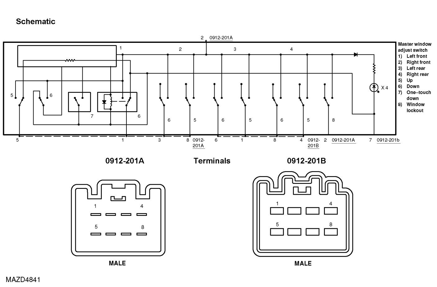
2. Inspect for continuity between the window control switch terminals using a self-powered test light or an ohmmeter.