Part 3
ENGINE CONTROL (EC) SYSTEM
Part 2
Continued From Part 1 Part 1
Integrated Electronic Ignition System
NOTE:Electronic ignition engine timing is entirely controlled by the PCM. Electronic ignition engine timing is not adjustable. Do not attempt to check base timing. You will receive false readings.
The integrated electronic ignition system consists of a crankshaft position (CKP) sensor, coil pack(s), connecting wiring, and a PCM. The COP integrated electronic ignition system eliminates the need for spark plug wires, but does require input from the camshaft position (CMP) sensor. Operation of the components are as follows:
1. The CKP sensor is used to indicate the crankshaft position and speed by sensing a missing tooth on a pulse wheel mounted to the crankshaft. The CMP sensor is used by the COP integrated electronic ignition system to identify the compression stroke of cylinder 1 and to synchronize the firing of the individual coils.
2. The PCM uses the CKP signal to calculate a spark target and then fires the coil pack(s) to that target shown. The PCM uses the CMP sensor to identify the compression stroke of cylinder 1, and to synchronize the firing of the individual coils.
3. The PCM controls the ignition coils after it calculates the spark target. The COP system fires only one spark plug per coil upon synchronization during the compression stroke. For the coil pack ignition system, each coil within a pack fires 2 spark plugs at the same time. The plugs are paired so that as one fires during the compression stroke the other fires during the exhaust stroke. The next time the coil is fired the situation is reversed.
The current flow, or dwell, through the primary ignition coil is controlled by the PCM by providing a switched ground path through the ignition coil driver to ground. When the ignition coil driver is switched on, current rapidly builds up to a maximum value, determined by the coil inductance and resistance. When the current is switched off, the magnetic field collapses which induces a secondary high-voltage surge and the spark plug is fired. This high-voltage surge creates a playback voltage which the PCM uses as a feedback during the ignition diagnostics. The PCM uses the charge current dwell time characteristics to carry out the ignition diagnostics.
4. The PCM processes the CKP signal and uses it to drive the tachometer as the clean tach output (CTO) signal.
Engine Crank/Engine Running
During engine crank the PCM fires 2 spark plugs simultaneously. Of the 2 plugs fired, one is under compression, the other is on the exhaust stroke. Both plugs fire until camshaft position is identified by a successful camshaft position (CMP) sensor signal. Once camshaft position is identified only the cylinder under compression is fired.
Camshaft Position (CMP) Failure Mode Effects Management (FMEM)
During CMP FMEM the COP ignition works the same as during engine crank. This allows the engine to operate without the PCM knowing if cylinder 1 is under compression or exhaust.
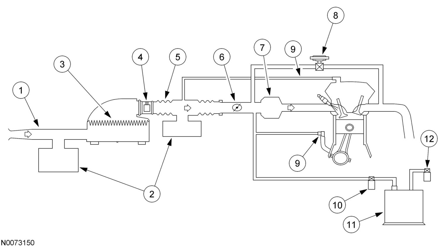
Intake Air Systems
Overview
The intake air system provides clean air to the engine, optimizes air flow, and reduces unwanted induction noise. The intake air system consists of an air cleaner assembly, resonator assemblies, and hoses. Some vehicles use a hydrocarbon filter trap to help reduce emissions by preventing fuel vapor from escaping into the atmosphere from the intake when the engine is off. It is typically located inside the intake air system. The mass air flow (MAF) sensor is attached to the air cleaner assembly and measures the volume of air delivered to the engine. The hydrocarbon trap is part of the EVAP system. For more information on the EVAP system.
The MAF sensor can be replaced as an individual component. The intake air system also contains a sensor that measures the intake air temperature (IAT), which is integrated with the MAF sensor.
Intake air components can be separate components or part of the intake air housing. The function of a resonator is to reduce induction noise. The intake air components are connected to each other and to the throttle body assembly with hoses.
Positive Crankcase Ventilation (PCV) System
Overview
The PCV system cycles crankcase gases back through the intake air system into the engine where they are burned. The PCV valve regulates the amount of ventilated air and blow-by gases to the intake manifold.
CAUTION:Do not remove the PCV system from the engine. Removal of the PCV system will adversely affect the fuel economy and engine ventilation and result in shorter engine life.
PCV systems that comply with OBD PCV monitoring requirements use a quarter-turn cam-lock thread design at one end to prevent accidental disconnection from the valve cover. For more information about the PCV monitor, see Engine OBD II Monitors.
Torque-Based Electronic Throttle Control (ETC)
Overview
The torque-based ETC is a hardware and software strategy that delivers an engine output torque (via throttle angle) based on driver demand (pedal position). It uses an electronic throttle body, the PCM, and an accelerator pedal assembly to control the throttle opening and engine torque.
Torque-based ETC enables aggressive automatic transmission shift schedules (earlier upshifts and later downshifts). This is possible by adjusting the throttle angle to achieve the same wheel torque during shifts, and by calculating this desired torque, the system prevents engine lugging (low RPM and low manifold vacuum) while still delivering the performance and torque requested by the driver. It also enables many fuel economy/emission improvement technologies such as variable camshaft timing (VCT), which delivers same torque during transitions.
Torque-based ETC also results in less intrusive vehicle and engine speed limiting, along with smoother traction control.
Other benefits of torque-based ETC are:
- eliminate cruise control actuators
- eliminate idle air control (IAC) valve
- better airflow range
- packaging (no cable)
- more responsive powertrain at altitude and improved shift quality
The ETC system illuminates a powertrain malfunction indicator (wrench) on the instrument cluster when a concern is present. Concerns are accompanied by DTCs and may also illuminate the malfunction indicator lamp (MIL).
Electronic Throttle Body (ETB)
The ETB has the following characteristics:
- The throttle actuator control (TAC) motor is a DC motor controlled by the PCM (requires 2 wires).
- There are 2 designs: parallel and in-line. The parallel design has the motor under the bore parallel to the plate shaft. The motor housing is integrated into the main housing. The in-line design has a separate motor housing.
- An internal spring is used in both designs to return the throttle plate to a default position. The default position is typically a throttle angle of 7 to 8 degrees from the hard stop angle.
- The closed throttle plate hard stop is used to prevent the throttle from binding in the bore (approximately 0.75 degree). This hard stop setting is not adjustable and is set to result in less airflow than the minimum engine airflow required at idle.
- The required idle airflow is provided by the plate angle in the throttle body assembly. This plate angle controls idle, idle quality, and eliminates the need for an IAC valve.
- There is one reference voltage and one signal return circuit between the PCM and the ETB. The reference voltage and the signal return circuits are shared with the reference voltage and signal return circuits used by the accelerator pedal position (APP) sensor. There are also 2 throttle position (TP) signal circuits for redundancy. The redundant TP signals are required for increased monitoring reasons. The first TP signal (TP1) has a negative slope (increasing angle, decreasing voltage) and the second signal (TP2) has a positive slope (increasing angle, increasing voltage). The TP2 signal reaches a limit of approximately 4.5 volts at approximately 45 degrees of throttle angle.
Accelerator Pedal Position (APP) Sensor
Depending on the application either a 2-track or 3-track APP sensor is used.
Electronic Throttle Control (ETC) System Strategy
The torque-based ETC strategy was developed to improve fuel economy and to accommodate variable camshaft timing (VCT). This is possible by not coupling the throttle angle to the driver pedal position. Uncoupling the throttle angle (produce engine torque) from the pedal position (driver demand) allows the powertrain control strategy to optimize fuel control and transmission shift schedules while delivering the requested wheel torque.
The ETC monitor system is distributed across 2 processors within the PCM: the main powertrain control processor unit (CPU) and a separate monitoring processor. The primary monitoring function is carried out by the independent plausibility check (IPC) software, which resides on the main processor. It is responsible for determining the driver-demanded torque and comparing it to an estimate of the actual torque delivered. If the generated torque exceeds driver demand by a specified amount, appropriate corrective action is taken.ETC System With A 3-Track APP Sensor Failure Mode And Effects Management
a ETC illuminates or displays a message on the message center immediately; MIL illuminates after 2 driving cyclesETC System With A 2-Track APP Sensor Failure Mode And Effects Management
Electronic Throttle Monitor Operation
a Monitor execution is continuous. Monitor false detection duration is less than 1 second to register a concern.
APP and TP Sensor Inputs
Accelerator Pedal Position (APP) Sensor Check
a Correlation and range/performance - sensor disagreement between processors internal to the PCM. Monitor execution is continuous. Monitor false detection duration is less than 1 second to register a concern. See - PCM DTC Chart.Throttle Position (TP) Sensor Check
a Correlation and range/performance - sensor disagreement between processors internal to the PCM, TP inconsistent with requested throttle plate position. Monitor execution is continuous. Monitor false detection duration is less than 1 second to register a concern. See - PCM DTC Chart.
Electronic Throttle Actuator Control (TAC) Output
a For all DTCs, in addition to the MIL, the powertrain malfunction indicator (wrench) is on for the concern that caused the FMEM action. Monitor execution is continuous. Monitor false detection duration is less than 5 seconds to register a concern.
Variable Camshaft Timing (VCT) System
Overview
The VCT system enables rotation of the camshaft(s) relative to the crankshaft rotation as a function of engine operating conditions. There are 4 types of VCT systems.
- Exhaust phase shifting (EPS) system - the exhaust cam is the active cam being retarded.
- Intake phase shifting (IPS) system - the intake cam is the active cam being advanced.
- Dual equal phase shifting (DEPS) system - both intake and exhaust cams are phase shifted and equally advanced or retarded.
- Dual independent phase shifting (DIPS) system - where both the intake and exhaust cams are shifted independently.
All systems have four operational modes: idle, part throttle, wide open throttle (WOT), and default mode. At idle and low engine speeds with closed throttle, the PCM determines the phase angle based on air flow, engine oil temperature and engine coolant temperature. At part and wide open throttle the PCM determines the phase angle based on engine RPM, load, and throttle position. VCT systems provide reduced emissions and enhanced engine power, fuel economy and idle quality. IPS systems also have the added benefit of improved torque. In addition, some VCT system applications can eliminate the need for an external exhaust gas recirculation (EGR) system. The elimination of the EGR system is accomplished by controlling the overlap time between the intake valve opening and exhaust valve closing. Currently, both the IPS and DEPS systems are used.
The VCT system consists of an electric hydraulic positioning control solenoid, a camshaft position (CMP) sensor, and a trigger wheel. The CMP trigger wheel has a number of equally spaced teeth equal to the number (n) of cylinders on a bank plus one extra tooth (n+1). Four cylinder engines use a CMP 4+1 tooth trigger wheel. V6 engines use a CMP 3+1 tooth trigger wheel. The extra tooth placed between the equally spaced teeth represents the CMP signal for that bank. A crankshaft position (CKP) sensor provides the PCM with crankshaft positioning information in 10 degree increments.
VCT System
1. The PCM receives input signals from the intake air temperature (IAT), engine coolant temperature (ECT), engine oil temperature (EOT), CMP, throttle position (TP), mass air flow (MAF), and CKP sensors to determine the operating conditions of the engine. At idle and low engine speeds with closed throttle, the PCM controls the camshaft position based on ECT, EOT, IAT, and MAF. During part and wide open throttle, the camshaft position is determined by engine RPM, load and throttle position. The VCT system does not operate until the engine is at normal operating temperature.
2. The VCT system is enabled by the PCM when the correct conditions are met.
3. The CKP signal is used as a reference for CMP positioning.
4. The VCT solenoid valve is an integral part of the VCT system. The solenoid valve controls the flow of engine oil in the VCT actuator assembly. As the PCM controls the duty cycle of the solenoid valve, oil pressure/flow advances or retards the cam timing. Duty cycles near 0% or 100% represent rapid movement of the camshaft. Retaining a fixed camshaft position is accomplished by dithering (oscillating) the solenoid valve duty cycle.
The PCM calculates and determines the desired camshaft position. It continually updates the VCT solenoid duty cycle until the desired position is achieved. A difference between the desired and actual camshaft position represents a position error in the PCM VCT control loop. The PCM disables the VCT and places the camshaft in a default position if a concern is detected. A related DTC is also set when the concern is detected.
5. When the VCT solenoid is energized, engine oil is allowed to flow to the VCT actuator assembly which advances or retards the camshaft timing. One half of the VCT actuator is coupled to the camshaft and the other half is connected to the timing chain. Oil chambers between the 2 halves couple the camshaft to the timing chain. When the flow of oil is shifted from one side of the chamber to the other, the differential change in oil pressure forces the camshaft to rotate in either an advance or retard position depending on the oil flow.
Diagnostic Tools
Below is an equipment list:
REQUIRED EQUIPMENT:
- Vehicle Communication Module (VCM) and Integrated Diagnostic System (IDS) software with appropriate hardware, or equivalent scan tool with functionality described under Scan Tool Setup and Functionality.
- Smoke Machine, Fuel Evaporative Emission System Tester.
RECOMMENDED EQUIPMENT:
- Vacuum/Pressure Tester. Range 0-101.3 kPa (0-30 in-Hg.) Resolution 3.4 kPa (1 in-Hg.)
- Vacuum Tester. Range 0-101.3 kPa (0-30 in-Hg.)
- Digital Volt Ohm Meter. Input impedance 10 Megaohm minimum.
- Spark Tester
- Non-powered test lamp.
OPTIONAL EQUIPMENT:
- Fuel (Gasoline) pressure test kit. (Use tool manufacturer's instructions.)
Scan Tool Setup and Functionality
- Connect the scan tool to the data link connector (DLC) for communication with the vehicle.
- The DLC is located in the driver side compartment under the steering column. It is attached to the instrument panel and accessible from the driver seat.
- The DLC is rectangular in design and capable of accommodating up to 16 terminals. The connector has keying features to allow easy connection.
- The required scan tool functions are described below:
- monitor, record, and playback of parameter identification (PIDs)
- freeze frame PID data
- diagnostic test modes; self-test, DTCs
- output test mode
- resetting keep alive memory (KAM)
- diagnostic monitoring test results (mode 6) for on board diagnostic (OBD) on board monitors
- on-board system readiness (OBD monitor completion status)
Some of these functions are described. Refer to the scan tool manufacturer's instruction manual for specific information on scan tool setup and operation.
Diagnostic Methods
Overview
The Diagnostic Method Section provides information on routine diagnostic tasks.
When following powertrain diagnostics on vehicles with on board diagnostics (OBD), the system may be checked by an off-board tester referred to as a scan tool. This section contains information for carrying out diagnostics with a scan tool. A scan tool has certain generic capabilities that are standard across the automotive industry in the United States and Canada. All functions are selected from a menu. Refer to the instruction manual provided by the tool manufacturer.
Vehicle Check/Preparation
Visual Checks
- Inspect the air cleaner and inlet duct.
- Check all engine vacuum hoses for damage, leaks, cracks, kinks and correct routing.
- Check the electronic engine control (EEC) system wiring harness for correct connections, bent or broken pins, corrosion, loose wires, and correct routing.
- Check the PCM, sensors, and actuators for physical damage.
- Check the engine coolant for correct level and mixture.
- Check the transmission fluid level and quality.
- Make all necessary repairs before continuing with the Quick Test.
Vehicle Preparation
- Carry out all safety steps required to start and run vehicle tests. Apply the parking brake, place the gear selector lever firmly into the PARK position on automatic transmission vehicles or NEUTRAL on manual transmission vehicles, and block the drive wheels.
- Turn off ALL electrical loads: radios, lamps, A/C, blower and fans.
- Start the engine (if the engine runs) and bring it up to the normal operating temperature before running the Quick Test.
Quick Test Description
Quick Test
The quick test is divided into 3 specialized tests:
- Key On Engine Off (KOEO) On-Demand Self-Test
- Key On Engine Running (KOER) On-Demand Self-Test
- Continuous Memory Self-Test
The quick test checks the integrity and function of the electronic engine control (EEC) system and outputs the test results when requested by the scan tool. The quick test also provides a quick check of the powertrain control system, and is usually carried out at the start of each diagnostic procedure with all accessories off. The quick test is also carried out at the end of most pinpoint tests for verification of the repair and to make sure no other concerns are incurred while repairing a previous concern. A system pass is displayed when no DTCs are output and a scan tool communication error does not exist. System pass means that hardware monitored by the PCM is functioning within the normal operating limits. Only a system pass, a DTC, or an incomplete on board diagnostic (OBD) drive cycle (P1000) is displayed.
For applications that use a stand-alone transmission control module (TCM) the PCM does not output TCM DTCs. For TCM self-test and diagnostics, see Diagnostics.
Key On Engine Off (KOEO) On-Demand Self-Test
The KOEO on-demand self-test is a functional test of the PCM carried out on-demand with the key on and the engine off. This test carries out checks on certain sensor and actuator circuits. A concern must be present at the time of testing for the KOEO self-test to detect the concern. When a concern is detected, a DTC is output on the data link at the end of the test as requested by the scan tool.
Key On Engine Running (KOER) On-Demand Self-Test
The KOER on-demand self-test is a functional test of the PCM carried out on-demand with the key on, the engine running and the vehicle stopped. A check of certain inputs and outputs is made during operating conditions and at a normal operating temperature. The brake pedal position, transmission control, and the power steering tests are part of the KOER on-demand self-test and must be carried out during this operation if applicable. These are described below. A concern must be present at the time of testing for the KOER on-demand self-test to detect the concern. When a concern is detected, a DTC is output on the data link at the end of the test as requested by the scan tool.
Continued in Part 4 Part 4