Curiosii for ever!
: Car repair manuals for everyone.
Home
>>
Mazda Truck
>>
2010
>>
Tribute 2WD L4-2.5L
>>
Repair and Diagnosis
>>
Powertrain Management
>>
Computers and Control Systems
>>
Data Link Connector
>>
Testing and Inspection
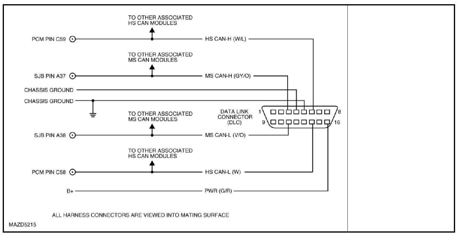
Data Link Connector: Testing and Inspection
DATA LINK CONNECTOR (DLC) MALFUNCTION
Detection Condition/Possible Causes:
Step 1-Step 4: