Determining Malfunctioning Part (MS-CAN) - Multiplex Communication System
DETERMINING MALFUNCTIONING PART (MS-CAN) [MULTIPLEX COMMUNICATION SYSTEM]
CAUTION:
- If the malfunctioning part is detected in the communication line, before disconnecting the related connector for inspection, press the connector in the connection direction to verify that there is no looseness or disconnection.
- When disconnecting the connector, verify that there is no damage, deformation, or corrosion of the connector terminals.
1. Verify DTCs of the modules related to the CAN system.
2. Apply the following items to the , and then verify the reference to the malfunctioning location.
- Communication error DTCs
- Malfunctioning module
NOTE:
- A hyphen(-) in the DTC output pattern cell indicates that the DTC may be displayed depending on the malfunction detection conditions. If it is not displayed, the malfunctioning part can be determined by checking only the crosses (x).
3. Refer to the matching tandem diagnostic results (A to J) and inspect the possible cause and inspection item.
4. Perform the DTC inspection after the repair procedure.
- If any DTC is displayed, return to Initial Inspection and Diagnostic Overview.
DTC Output Pattern and Malfunctioning Part
Cross (x): DisplayedHyphen (-): May or may not be displayed
*1
Without display (audio unit).
*2
With display (audio unit).
*3
The DTC is displayed on M-MDS.
*4
The DTC is displayed on the information display (type A).
*5
The DTC is displayed on the information display (type B).
*6
The DTC is displayed on the car-navigation unit.
*7
If "None ACU" is displayed on the information display, no DTC is displayed.
*8
If "02:1-" is displayed on the information display, no DTC is displayed.
A
Possible cause
- Connector terminal disconnection, poor contact, damage, deformation, corrosion
- Open circuit in wiring harness between audio/car-navigation unit and connector C-25
- Open circuit in wiring harness between connector C-25 and connector C-45
- Open circuit in wiring harness between connector C-45 and connector C-16
- Open circuit in wiring harness between connector C-16 and connector C-17
- Open circuit in wiring harness between connector C-17 and branch A
- Open circuit in wiring harness between connector C-16 and connector C-11
- Open circuit in wiring harness between connector C-11 and connector C-37
- Connector C-25 malfunction
- Connector C-45 malfunction
- Connector C-16 malfunction
- Connector C-17 malfunction
- Connector C-11 malfunction
- Connector C-37 malfunction
- Audio/car-navigation unit malfunction
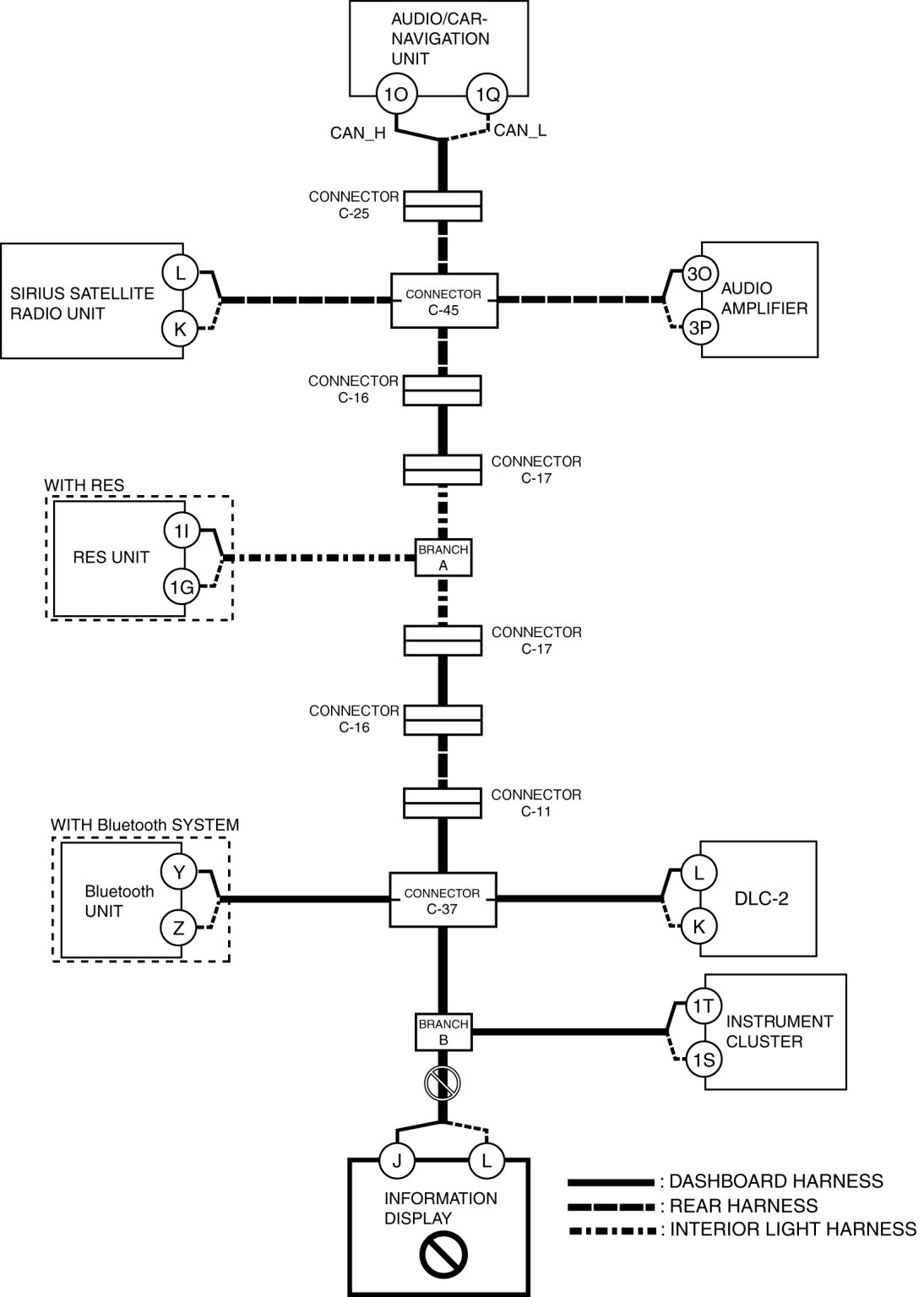
System wiring diagram
Inspection item
- Audio/car-navigation unit connector
- Connector C-25
- Connector C-45
- Connector C-16
- Connector C-17
- Connector C-11
- Connector C-37
- Wiring harness between audio/car-navigation unit terminal 1O and connector C-25
- Wiring harness between audio/car-navigation unit terminal 1Q and connector C-25
- Wiring harness between connector C-25 and connector C-45
- Wiring harness between connector C-45 and connector C-16
- Wiring harness between connector C-16 and connector C-17
- Wiring harness between connector C-17 and branch A
- Wiring harness between connector C-16 and connector C-11
- Wiring harness between connector C-16 and connector C-37
- Audio/car-navigation unit
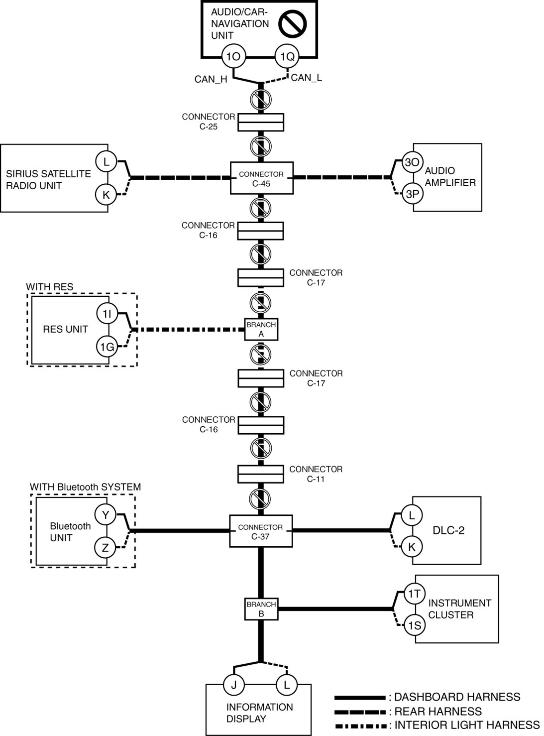
B
Possible cause
- Connector terminal disconnection, poor contact, damage, deformation, corrosion
- Open circuit in wiring harness between audio unit and connector C-37
- Connector C-37 malfunction
- Audio unit malfunction
System wiring diagram
Inspection item
- Audio unit connector
- Connector C-37
- Wiring harness between audio unit terminal 1O and connector C-37
- Wiring harness between audio unit terminal 1Q and connector C-37
- Audio unit
C
Possible cause
- Connector terminal disconnection, poor contact, damage, deformation, corrosion
- Open circuit in wiring harness between SIRIUS satellite radio unit and connector C-45
- Connector C-45 malfunction
- SIRIUS satellite radio unit malfunction
System wiring diagram
Inspection item
- SIRIUS satellite radio unit connector
- Connector C-45
- Wiring harness between SIRIUS satellite radio unit terminal L and connector C-45
- Wiring harness between SIRIUS satellite radio unit terminal K and connector C-45
- SIRIUS satellite radio unit
D
Possible cause
- Connector terminal disconnection, poor contact, damage, deformation, corrosion
- Open circuit in wiring harness between audio amplifier and connector C-45
- Connector C-45 malfunction
- Audio amplifier unit malfunction
System wiring diagram
Inspection item
- Audio amplifier connector
- Connector C-45
- Wiring harness between audio amplifier terminal 3O and connector C-45
- Wiring harness between audio amplifier terminal 3P and connector C-45
- Audio amplifier
E
Possible cause
- Connector terminal disconnection, poor contact, damage, deformation, corrosion
- Open circuit in wiring harness between Bluetooth unit and connector C-37
- Connector C-37 malfunction
- Bluetooth unit malfunction
System wiring diagram
Inspection item
- Bluetooth unit connector
- Connector C-37
- Wiring harness between Bluetooth unit terminal Y and connector C-37
- Wiring harness between Bluetooth unit terminal Z and connector C-37
- Bluetooth unit
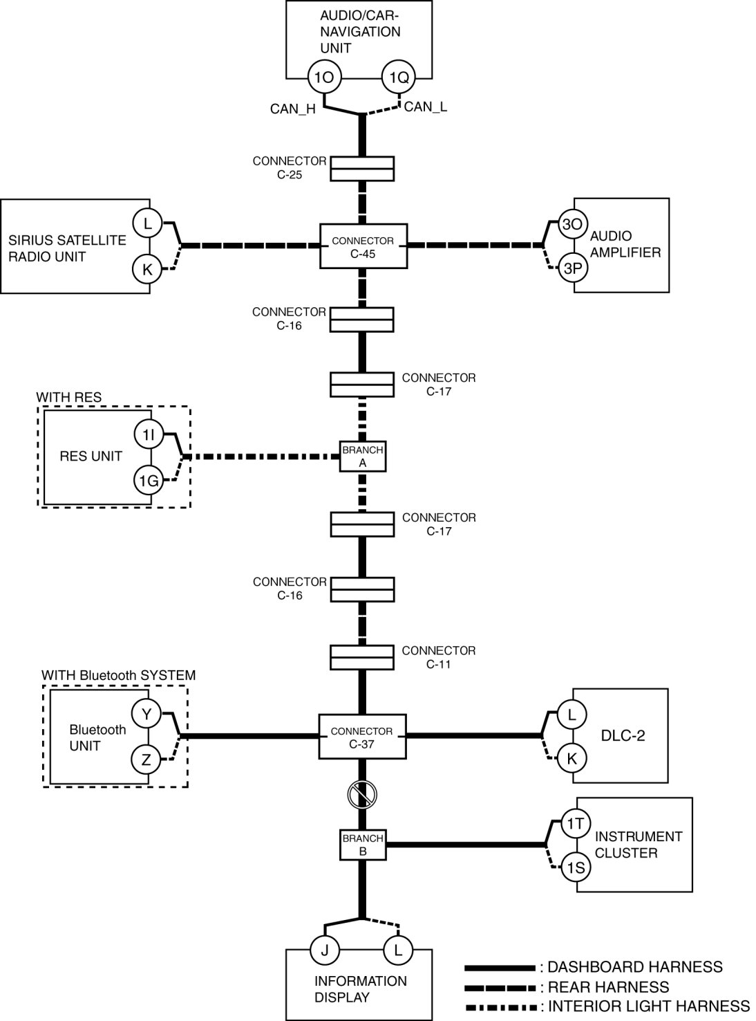
F
With Bose(R)
Possible cause
- Connector terminal disconnection, poor contact, damage, deformation, corrosion
- Open circuit in wiring harness between connector C-37 and branch B
- Connector C-37 malfunction
With Bose(R)
System wiring diagram
With Bose(R)
Inspection item
- Connector C-37
- Wiring harness between connector C-37 and branch B
Without Bose(R)
Possible cause
- Connector terminal disconnection, poor contact, damage, deformation, corrosion
- Open circuit in wiring harness between connector C-37 and branch A
- Connector C-37 malfunction
Without Bose(R)
System wiring diagram
Without Bose(R)
Inspection item
- Connector C-37
- Wiring harness between connector C-37 and branch A
G
Possible cause
- Connector terminal disconnection, poor contact, damage, deformation, corrosion
- Open circuit in wiring harness between instrument cluster and branch B
- Instrument cluster malfunction
System wiring diagram
Inspection item
- Instrument cluster connector
- Wiring harness between instrument cluster terminal 1T and branch B
- Wiring harness between instrument cluster terminal 1S and branch B
- Instrument cluster unit
H
Possible cause
- Connector terminal disconnection, poor contact, damage, deformation, corrosion
- Open circuit in wiring harness between instrument cluster and branch A
- Instrument cluster malfunction
System wiring diagram
Inspection item
- Instrument cluster connector
- Wiring harness between instrument cluster terminal 1T and branch A
- Wiring harness between instrument cluster terminal 1S and branch A
- Instrument cluster unit
I
Possible cause
- Connector terminal disconnection, poor contact, damage, deformation, corrosion
- Open circuit in wiring harness between information display and branch B
- Information display malfunction
System wiring diagram
Inspection item
- Information display connector
- Wiring harness between Information display terminal J and branch B
- Wiring harness between Information display terminal L and branch B
- Information display
J
Possible cause
- Connector terminal disconnection, poor contact, damage, deformation, corrosion
- Open circuit in wiring harness between information display and branch A
- Information display malfunction
System wiring diagram
Inspection item
- Information display connector
- Wiring harness between Information display terminal J and branch A
- Wiring harness between Information display terminal L and branch A
- Information display