Discharge Headlight Control Module Removal/Installation
DISCHARGE HEADLIGHT CONTROL MODULE REMOVAL/INSTALLATION
WARNING:
- Incorrect servicing of the discharge headlights could result in electrical shock. Before servicing the discharge headlights, always refer to the discharge headlight service warnings. Service Precautions
1. Disconnect the negative battery cable.
2. Remove the front bumper. Removal and Replacement
3. Remove the front combination light. Service and Repair
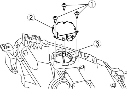
4. Remove in the order indicated in the table.
5. Install in the reverse order of removal.