Fundamental Procedures
FUNDAMENTAL PROCEDURES
Protection of the Vehicle
- Always be sure to cover fenders, seats and floor areas before starting work.
Preparation of Tools and Measuring Equipment
- Be sure that all necessary tools and measuring equipment are available before starting any work.
Special Tools
- Use special tools when they are required.
Disconnection of the Negative Battery Cable
- Before beginning any work, turn the ignition switch to LOCK, disconnect the negative battery cable and then wait for more than 1 minute to allow the backup supply of the air bag diagnostic monitor unit to deplete its stored power.
Disconnecting the battery cable deletes the memories of the clock, audio and DTCs, etc. Therefore, it is necessary to verify those memories before disconnecting the cable.
Removal of Parts
- While correcting a problem, also try to determine its cause. Begin work only after first learning which parts and subassemblies must be removed and disassembled for replacement or repair. After removing the part, plug all holes and ports to prevent foreign material from entering.
Disassembly
- If the disassembly procedure is complex requiring many parts to be disassembled, make sure that all parts are disassembled in a way that will not affect their performance or external appearance and identifies so reassembly can be performed easily and efficiently.
Inspection During Removal, Disassembly
- When removed, inspect each part for malfunctioning, deformation, damage and other problems.
Arrangement of Parts
- All disassembled parts should be carefully arranged for reassembly.
- Be sure to separate or otherwise identify the parts to be replaced from those that will be reused.
Cleaning of Parts
- Carefully and thoroughly clean all parts to be reused.
WARNING:Using compressed air can cause dirt and other particles to fly out causing injury to the eyes. Wear protective eye-wear whenever using compressed air.
Reassembly
- Standard values, such as torques and certain adjustments, must be strictly observed in the reassembly of all parts.
If removed, replace these parts with new ones:
- Oil seals
- Gaskets
- O-rings
- Lock washers
- Cotter pins
- Nylon nuts
Depending on location:
- Apply sealant and gaskets, or both, to specified locations. When sealant is applied, install parts before sealant hardens to prevent leaks.
- Apply oil to the moving components of parts.
- Apply specified oil or grease at the prescribed locations (such as oil seals) before reassembly.
Adjustments
- Use suitable gauges and testers when making adjustments.
Rubber Parts and Tubing
- Prevent gasoline or oil from getting on rubber parts or tubing.
Hose Clamps
- When reinstalling, position the hose clamp in the original location on the hose and squeeze the clamp lightly with large pliers to ensure a good fit.
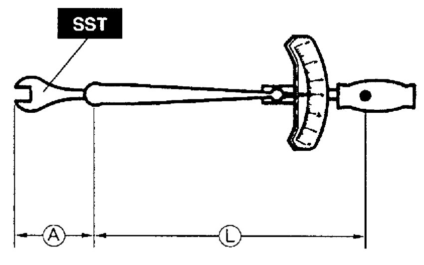
Torque Formulas
When using a torque wrench-SST combination, the written torque must be recalculated due to the extra length that the SST adds to the torque wrench. Recalculate the torque by using the following formulas. Choose the formula that applies to you.
A: The length of the SST past the torque wrench drive.L: The length of the torque wrench.
Vise
- When using a vise, put protective plates in the jaws of the vise to prevent damage to parts.
Dynamometer
- When test-running a vehicle on a dynamometer:
- Place a fan, preferably a vehicle-speed proportional type, in front of the vehicle.
- Connect an exhaust gas ventilation unit.
- Cool the exhaust pipes with a fan.
- Keep the area around the vehicle uncluttered.
- Watch the water temperature gauge.
WARNING:On 4WD vehicles, if the front wheels are on a dynamometer, the rear wheels must be on chassis rollers or the vehicle could lurch forward.