Curiosii for ever!: Car repair manuals for everyone.

Camshaft Position Sensor: Service and Repair



-
CAMSHAFT POSITION (CMP) SENSOR REMOVAL / INSTALLATION - 4.0L









Removal and Installation





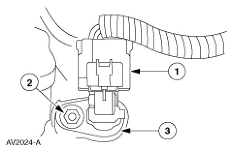
1. Remove the camshaft position (CMP) sensor.
a. Disconnect the electrical connector.

b. Remove the bolt.

c. Remove the sensor.






1. To install, reverse the removal procedure.