Curiosii for ever!: Car repair manuals for everyone.

Power Window Main Switch Inspection




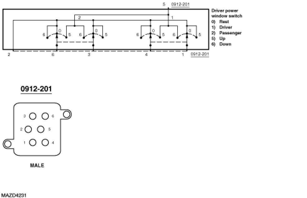
POWER WINDOW MAIN SWITCH INSPECTION

1. Remove the power window main switch. See Service and Repair.

2. Inspect for continuity between the power window main switch terminals using an ohmmeter.





Inspection





1. If not as specified, replace the power window main switch.