Curiosii for ever!
: Car repair manuals for everyone.
Home
>>
Mazda Truck
>>
2009
>>
B2300 L4-2.3L
>>
Repair and Diagnosis
>>
Specifications
>>
Mechanical Specifications
>>
Engine
>>
Oil Pan, Engine
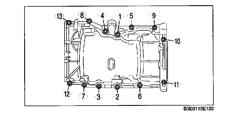
Oil Pan, Engine
Oil Pan
Tighten the rear
oil pan
bolts in the order as shown in the figure.
Tightening torque
17-23 N-m (1.8-2.3 kgf-m, 12.6-16.9 ft-lbf)