Curiosii for ever!: Car repair manuals for everyone.

Electronic Brake Control Module: Service and Repair




ANTI-LOCK BRAKE SYSTEM (ABS) MODULE









Removal and Installation

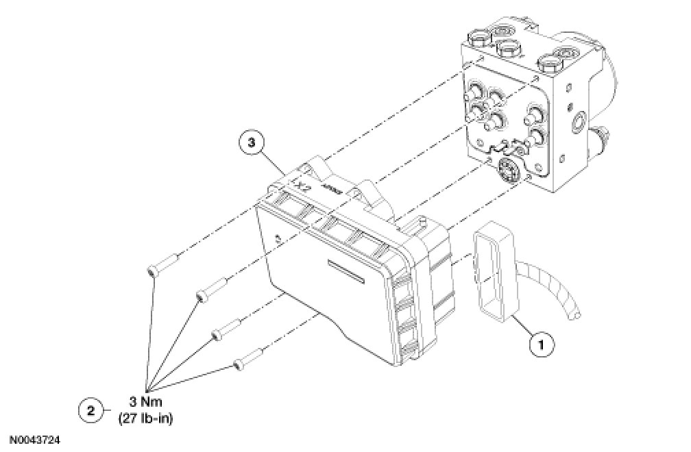
1. Remove the hydraulic control unit (HCU). See Service and Repair.






1.
NOTE:The anti-lock brake system (ABS) module bolts must be removed and installed in the sequence shown.Remove the 4 anti-lock brake system (ABS) module bolts in the sequence shown.

- To install, tighten to 3 N-m (0.3 kgf-m, 27 in-lbf).

2.

CAUTION:When the ABS module is separated from the HCU, the motor terminals and the valve stems will be exposed. Protect the terminals and the valve stems from damage.Remove the ABS module from the HCU.






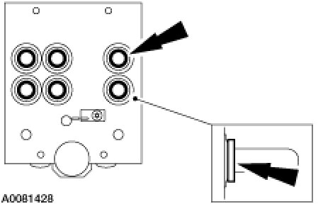
1. Remove and discard the O-ring seals.






1. Remove and discard the ABS module seal.

2.

CAUTION:All components must be free of dust, oil, fluid and foreign material.

CAUTION:A new seal kit must be used when installing the ABS module. The old seals must be discarded as they may cause a leak between the ABS module and the HCU.
NOTE:The O-ring seals must be installed to the valve flange. Make sure there is no twist to the O-ring seal when installed.
NOTE:Clean the groove of the ABS module before installing a new seal.
To install, reverse the removal procedure.