Curiosii for ever!: Car repair manuals for everyone.

System Specifications

2.3L Engine

2.3L Engine (Part 1):




2.3L Engine (Part 2):




2.3L Engine (Part 3):





Cylinder Head





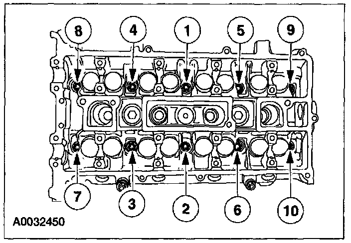
Install new cylinder head bolts.

Note
^ The cylinder head bolts are torque-to-yield and must not be reused. New cylinder head bolts must be installed.

Tighten the bolts in the sequence shown in 5 stages.
Stage 1: Tighten the bolts to 5 N-m (0.5 kgf-m, 44 in-lbf).
Stage 2: Tighten the bolts to 15 N-m (1.5 kgf-m, 11 ft-lbf).
Stage 3: Tighten the bolts to 45 N-m (4.5 kg-m, 33 ft-lbf).
Stage 4: Turn the bolts 90 degrees.
Stage 5: Turn the bolts an additional 90 degrees.

Intake Manifold





Tighten to 18 N-m (1.8 kgf-m, 13 ft-lbf).

Note
^ Inspect and install new intake manifold gaskets, if necessary.

Camshafts and bearing caps.
Tighten the bolts in the sequence shown in 3 stages.





Stage 1: Tighten the camshaft bearing bolt caps one turn at a time until finger-tight.
Stage 2: Tighten the bolts to 7 N-m (0.71 kgf-m, 62 in-lbf).
Stage 3: Tighten the bolts to 16 N-m (1.6 kgf-m, 12 ft-lbf).

Crankshaft Pulley





Install a new crankshaft pulley bolt. Using the special tools to hold the crankshaft pulley in place, tighten the crankshaft pulley bolt in two stages:
Stage 1: Tighten to 100 N-m (10.2 kgf-m, 74 ft-lb).
Stage 2: Tighten an additional 90 degrees (1/4 turn).

Flexplate





Install the flexplate and the bolts. Tighten the bolts in the sequence shown in 3 stages.
Stage 1: Tighten to 50 N-m (5.1 kgf-m, 37 ft-lbf).
Stage 2: Tighten to 80 N-m (8.2 kgf-m, 59 ft-lbf).
Stage 3: Tighten to 112 N-m (11.4 kgf-m, 83 ft-lbf).

Flywheel





Install the flywheel and the bolts. Tighten the bolts in the sequence shown in 3 stages.
^ Stage 1: Tighten to 50 N-m (5.1 kgf-m, 37 ft-lbf).
^ Stage 2: Tighten to 80 N-m (8.2 kgf-m, 59 ft-lbf).
^ Stage 3: Tighten to 112 N-m (11.4 kgf-m, 83 ft-lbf).

Oil pump





Tighten the bolts in the sequence shown in 2 stages.
Stage 1: Tighten the bolts to 10 N-m (1.0 kgf-m, 89 in-lbf).
Stage 2: Tighten the bolts to 20 N-m (1.5 kgf-m, 15 ft-lbf).

Coolant Pump





Tighten to 10 N-m (1.0 kgf-m, 89 in-lbf).

Exhaust Manifold





Position the catalytic converter and tighten the 7 new exhaust manifold nuts in the sequence shown in 2 stages.
Stage 1: Tighten to 48 N-m (4.8 kgf-m, 35 ft-lbf).
Stage 2: Tighten to 48 N-m (4.8 kgf-m, 35 ft-lbf).