Curiosii for ever!: Car repair manuals for everyone.

Cruise Control Servo: Service and Repair

SPEED CONTROL ACTUATOR REMOVAL/INSTALLATION






Removal




1. Press the locking tab and rotate the speed control cable cap to remove.




2. Disconnect the speed control cable from the speed control actuator pulley.
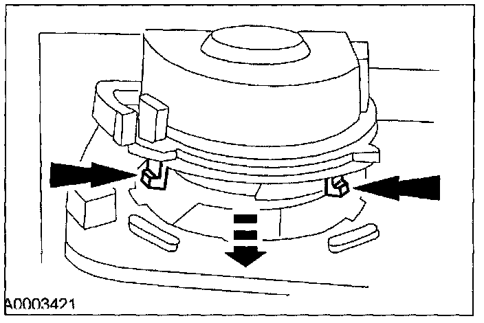
1. Gently push the retaining spring.
2. Disconnect the speed control cable slug from the speed control actuator pulley.

3. Remove the 3 speed control actuator screws and the speed control actuator.
- Disconnect the electrical connector.

Installation
1. Install the speed control actuator and the 3 speed control actuator screws.
- Tighten to 9 N.m (0.9 kgf.m, 80 in.lbf).
- Connect the electrical connector.

CAUTION: A new speed control cable must be installed




2. Insert the speed control cable slug into the speed control actuator pulley slot.
1. Gently push the retaining spring.
2. Insert the speed control cable slug completely into the speed control actuator pulley slot.




3. Align the speed control cable cap tabs with the slots in the speed control actuator housing.

CAUTION:
- It is necessary to squarely seat the speed control cable cap and seal around the speed control actuator pulley.
- Incorrect wrapping of the speed control cable around the speed control actuator pulley may result in high idle conditions.


NOTE: Make sure the rubber seal is fully seated onto the speed control cable cap.




4. Rotate the speed control cable cap until the locking tab engages.