Curiosii for ever!: Car repair manuals for everyone.

Camshaft Position Sensor: Service and Repair

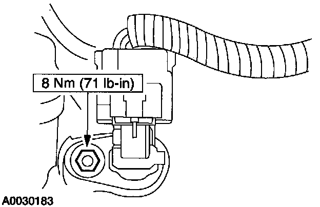
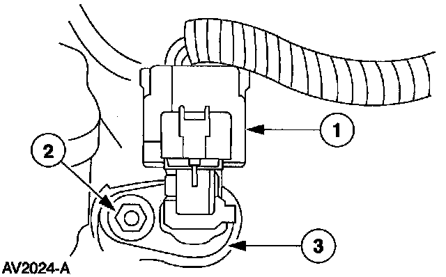
CAMSHAFT POSITION (CMP) SENSOR REMOVAL / INSTALLATION - 4.0L






Removal and Installation






1. Remove the camshaft position (CMP) sensor.
1. Disconnect the electrical connector.
2. Remove the bolt.
3. Remove the sensor.






2. To install, reverse the removal procedure.