Curiosii for ever!: Car repair manuals for everyone.

Navigation Module: Service and Repair

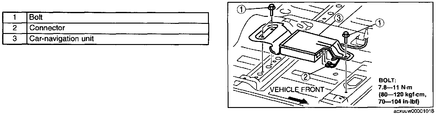
CAR-NAVIGATION UNIT REMOVAL/INSTALLATION

NOTE: Car-navigation unit is located under the front seat (passenger's side).

1. Disconnect the negative battery cable.
2. Remove the seat belt anchor, (passenger's side)
3. Remove the front seat, (passenger's side)




4. Remove in the order indicated in the table.
5. Install in the reverse order of removal.