Curiosii for ever!: Car repair manuals for everyone.

Camshaft Position Sensor: Service and Repair








CAMSHAFT POSITION (CMP) SENSOR REMOVAL / INSTALLATION - 4.0L




Removal and Installation
1. Remove the camshaft position (CMP) sensor.
1. Disconnect the electrical connector.
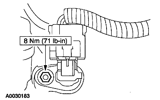
2. Remove the bolt.




3. Remove the sensor.

2. To install, reverse the removal procedure.