Curiosii for ever!
: Car repair manuals for everyone.
Home
>>
Mazda Truck
>>
2004
>>
MPV V6-3.0L DOHC
>>
Repair and Diagnosis
>>
Heating and Air Conditioning
>>
Control Assembly
>>
Service and Repair
>>
Front Climate Control Unit
>>
Disassembly and Assembly
Disassembly and Assembly
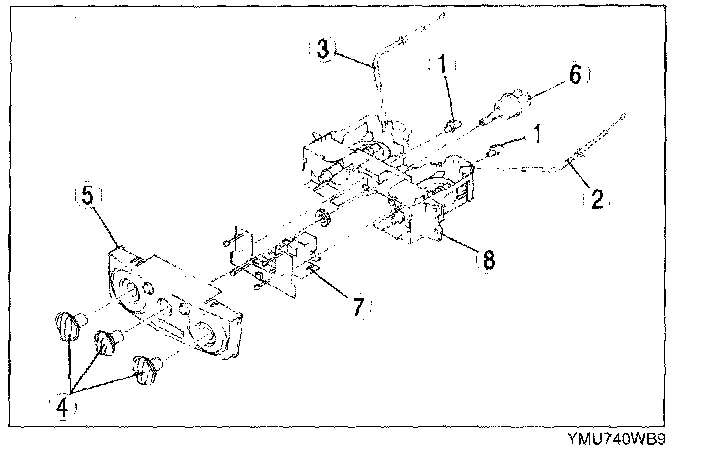
FRONT CLIMATE CONTROL UNIT DISASSEMBLY/ASSEMBLY
1.
Disassemble in the order indicated in the table.
2.
Assemble in the reverse order of disassembly.
Wire Disassembly Note:
1.
Disassemble the wires in the order shown.