Curiosii for ever!: Car repair manuals for everyone.

Cruise Control Servo: Service and Repair

CRUISE CONTROL SERVO REMOVAL / INSTALLATION

1. Disconnect the negative battery cable.




2. Disconnect the cruise control servo electrical connector.




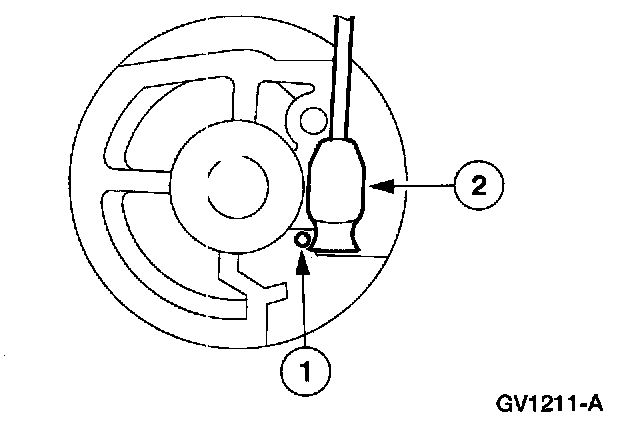
3. Remove the cruise control cable cap from the cruise control servo.
1. Push in the locking arm on the cruise control cable cap then rotate the cap counterclockwise.




4. Remove the cruise control cable.
1. Depress the spring retainer.
2. Slide the core wire end out of the cruise control servo pulley and remove the cruise control cable.




5. Remove the cruise control servo bracket bolt and remove the servo.




6. Remove the bolts and separate the cruise control servo bracket from the cruise control servo.

NOTE: Make sure the rubber seal is fully seated onto the cruise control cable cap.

7. To install, reverse the removal procedure.