Curiosii for ever!: Car repair manuals for everyone.

Liftgate Window Glass: Service and Repair

Removal and Installation

1. Open the liftgate glass.




2. Remove the two liftgate nut access covers (one on each side).




3. Disconnect the rear window glass electrical harness connector.




4. Disconnect the heated window grid wire electrical connector.

NOTE: An assistant may be needed to carry out this step.




5. Disconnect the two liftgate window glass cylinders.
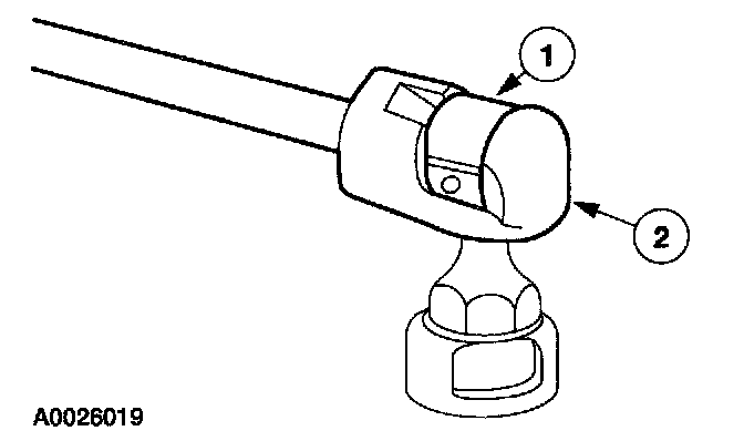
1. Slide the spring retainer to the end of the socket.
2. Disconnect the socket from the ball stud.

NOTE: An assistant may be needed to carry out this step.




6. Remove the two liftgate window glass hinge nuts.
7. To install, reverse the removal procedure.
1. Transfer components as necessary.