Curiosii for ever!: Car repair manuals for everyone.

System Specifications

General Specifications-2.0L Zetec

1 Of 4:







2 Of 4:




3 Of 4:




4 Of 4:












Fuel System Specifications

Tightening specifications
For specifications regarding Cylinder Head bolts, refer to service procedure. Service and Repair





Intake Manifold bolts.





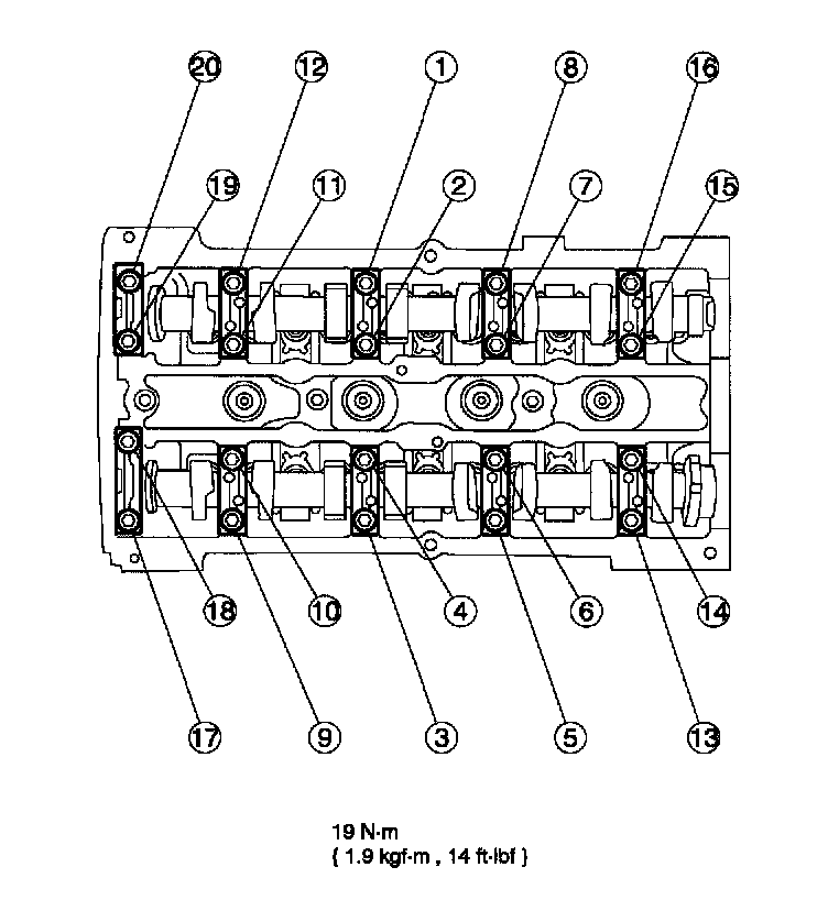
Camshaft Bearing Cap bolts.
For specifications regarding Main Bearing Cap bolts, refer to service procedure. Assembly (1 - 50)
For specifications regarding Rod Bearing Cap bolts, refer to service procedure. Assembly (1 - 50)





Crankshaft Pulley bolt.





Oil Pump bolts.
Flywheel bolt 112 Nm (11.4 kgf-m, 83 ft.lbs.)





Exhaust Manifold bolts.





Water Pump bolts.





Engine Front Upper Cover bolts.





Engine Front Lower Cover bolts.