Curiosii for ever!: Car repair manuals for everyone.

Climate Control System

Climate Control Operation

The climate control system is a manual system which heats or cools the vehicle depending on the function selector switch position and the temperature selected.
- The function selector switch is a vacuum and electrical switch that controls the A/C compressor and air distribution.
- The temperature control switch is a cable operated system that controls the air temperature door.
- The heater blower motor switch varies the blower motor speed.

Electrical Components:




1. Climate control panel
2. A/C cycling switch
3. Dual pressure switch
4. Powertrain control module
5. A/C relay
6. A/C clutch field coil
7. Heater blower motor resistor
8. Blower relay
9. Blower motor
10. Fan motor

System Air Flow Description

MAX A/C

MAX A/C:




When MAX A/C is selected:
- The air inlet blend door is at full vacuum, closing off outside air and allowing only recirculated air.
- The defrost blend door is at full vacuum while the footwell blend door is at no vacuum, closing both doors.
- The vent/register blend door is at partial vacuum, directing airflow to the driver-side, passenger-side and center registers.
- Temperature control is usually set for maximum cold but may be heated if selected.
- Air is picked up at the recirculation opening by the blower motor. With the temperature control set for maximum cold, air flows across the A/C evaporator core, diverting past the heater core and then directed into the passenger compartment through the driver-side, passenger-side and center registers.
- The A/C compressor is enabled when MAX A/C is selected.
- The blower motor is on.

A/C

A/C:




When A/C is selected:
- The air inlet blend door is set at no vacuum, blocking the recirculation passage and admitting outside air.
- All other door positions are the same as described under MAX A/C.
- Temperature setting can be changed manually.
- The A/C compressor is enabled when A/C is selected.
- The blower motor is on.

PANEL

A/C:




When panel is selected:
- The air inlet blend door, with no vacuum being applied, blocks recirculated air and allows outside air. Air flows through the system to the driver, passenger and center registers.
- The vent/register blend door is at partial vacuum to direct airflow to the driver, passenger and center registers.
- The defrost blend is at full vacuum and defrost airflow door is at no vacuum, closing off airflow to the windshield defroster hose nozzles and footwell ducts.
- The temperature setting can be changed manually to heat the air but air cannot be cooled below the outside temperature.
- The A/C compressor is disabled when VENT is selected.
- The blower motor is on.

OFF

OFF:




When OFF is selected:
- The air inlet blend door is at full vacuum, closing off outside air and allowing only recirculated air.
- The vent/register blend door is at no vacuum and the defrost, footwell and blend airflow doors are at no vacuum, closing off the passages to the driver, passenger and center registers.
- The blower motor and the A/C compressor are off.

PANEL/FLOOR

PANEL/FLOOR:




When PANEL/FLOOR is selected:
- The air inlet blend door is set at no vacuum, blocking the recirculation passage and allowing outside air.
- The footwell blend door is in the full vacuum position, and the panel airflow door is in the full vacuum position allowing airflow to blend between the panel vents and the footwell ducts.
- The defrost airflow door is at full vacuum, closing off airflow to the windshield defroster hose nozzle and directing airflow to the heater outlet footwell duct.
- The blower motor is on.

FLOOR

FLOOR:




When FLOOR is selected:
- The air inlet blend door is in the no vacuum position, blocking recirculation air and allowing outside air.
- The footwell airflow door is at the full vacuum position, opening the door and allowing airflow through the footwell ducts.
- The defrost airflow door and the vent/register blend door are in the no vacuum position, closing off airflow to the windshield defroster hose nozzles and driver, passenger and center registers.
- The temperature control can be positioned to mix air flowing through and around the heater core to achieve the selected temperature level.
- The A/C compressor is disabled when FLOOR is selected.
- The blower motor is on.

FLOOR/DEFROST

FLOOR/DEFROST:




When FLOOR/DEFROST is selected:
- The air inlet blend door is in the no vacuum position blocking recirculation air and allowing outside air.
- The footwell blend door is at full vacuum allowing air to flow through the footwell ducts.
- The defrost blend door is in the no vacuum position, allowing airflow to both the windshield defroster hose nozzle and side window demister hose nozzle ducts.
- The vent/register blend door is in the no vacuum position.
- The A/C compressor is enabled when FLOOR/DEFROST is selected to dehumidify the air and reduce windshield togging.
- The blower motor is on.

DEFROST

DEFROST:




When DEFROST is selected:
- The air inlet blend door is in the no vacuum position, allowing outside air.
- The defrost blend door is at no vacuum, directing the airflow to the windshield through the defroster ducts and the side windows through the demister ducts.
- The panel airflow door and the footwell airflow door are in the no vacuum position so that most of the incoming air is directed to the windshield defroster hose nozzle. There is also airflow to the side window demister and hose.
- The temperature control knob setting will determine the amount of air that is directed through the heater core and the amount that bypasses the heater core.
- The A/C compressor is enabled when DEFROST is selected to dehumidify the air and reduce windshield fogging.
- The blower motor is on.

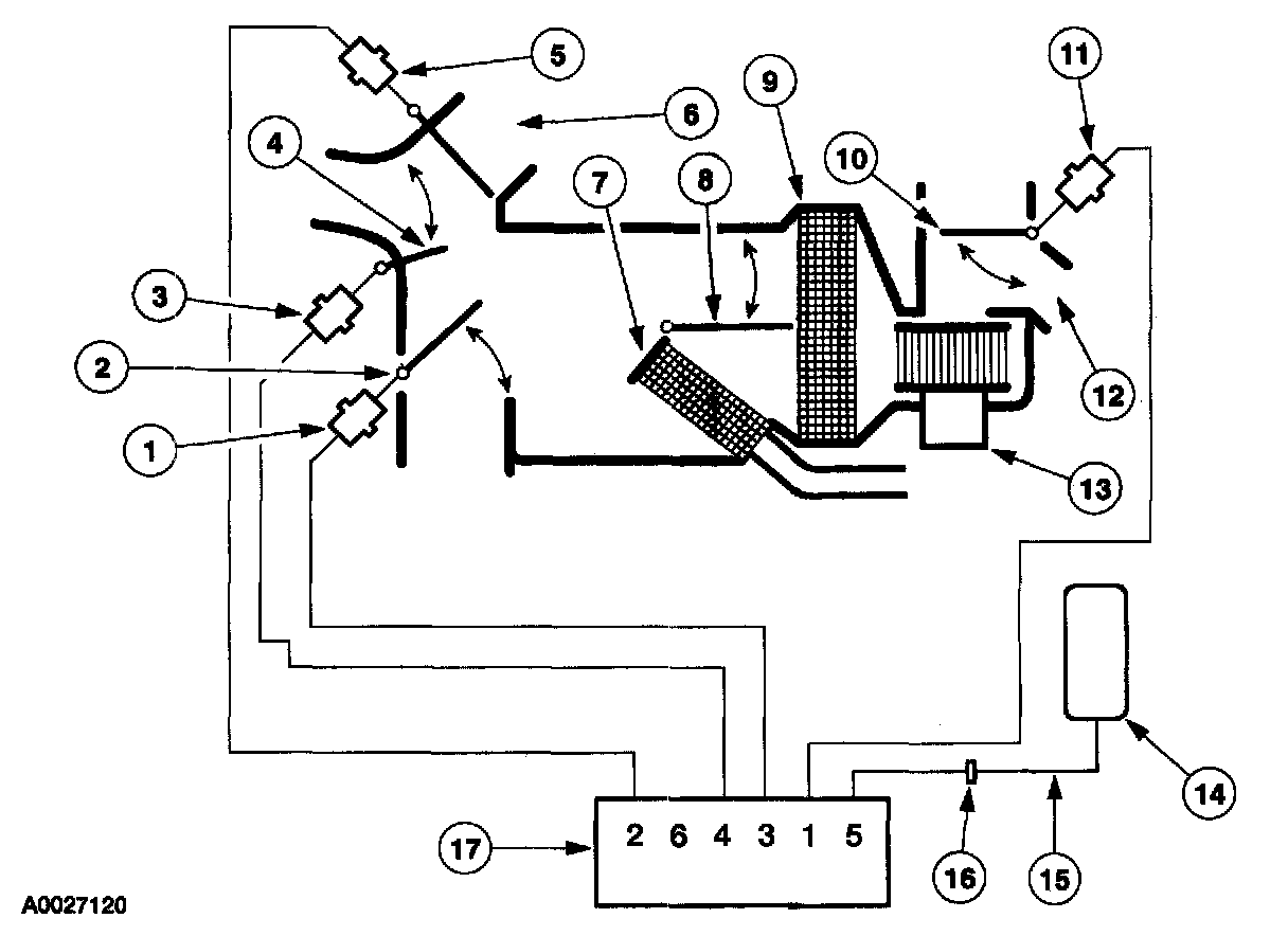
Vacuum Schematic:




1. Vacuum control motor - (footwell airflow door)
2. Floor airflow door
3. Vacuum control motor - (panel vent airflow door)
4. Panel vent airflow door
5. Vacuum control motor - (defrost airflow door)
6. Defrost airflow door
7. Heater core
8. Air temperature control door
9. Evaporator core
10. Outside air inlet door
11. Vacuum control motor - (outside air inlet door)
12. Recirculating air port
13. Blower motor
14. A/C vacuum degas bottle
15. To engine intake manifold
16. A/C vacuum check valve
17. A/C function selector switch











NOTE: A leak in the vacuum control circuits will send all airflow to the defroster outlets. This condition may occur during acceleration indicating a slow leak, exist at all times indicating a large leak, or it may exist only when specific functions are selected indicating a leak in that portion of the circuit.