Curiosii for ever!: Car repair manuals for everyone.

Temperature Control Switch

Removal and Installation

1. Remove the instrument panel center finish panel.




2. Remove the temperature control switch knob.




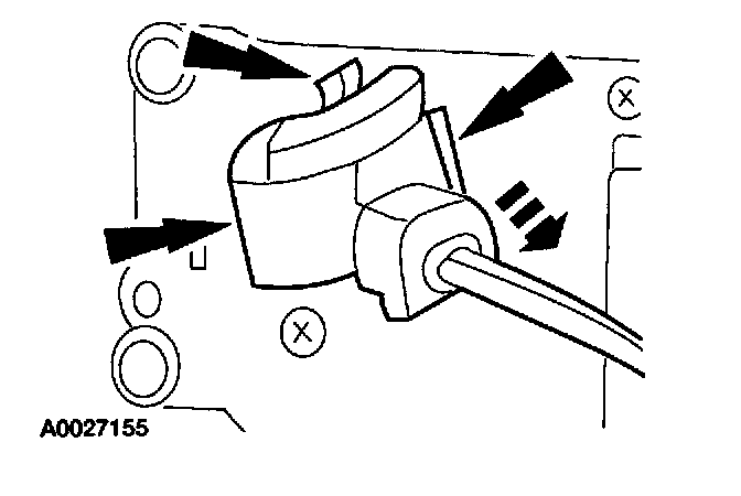
3. Depress the three tabs and remove the temperature blend door control cable.




4. Remove the temperature control switch.
1. Remove the screw.
2. Depress the tab and rotate the temperature control switch counterclockwise.






NOTE: Rotate the gear to align the locking tab with the notch in the gear before installing.

5. To install, reverse the removal procedure.