Component Inspection
NOTE: Perform the following test only when directed.Continuity Inspection
1. Disconnect the negative battery cable.
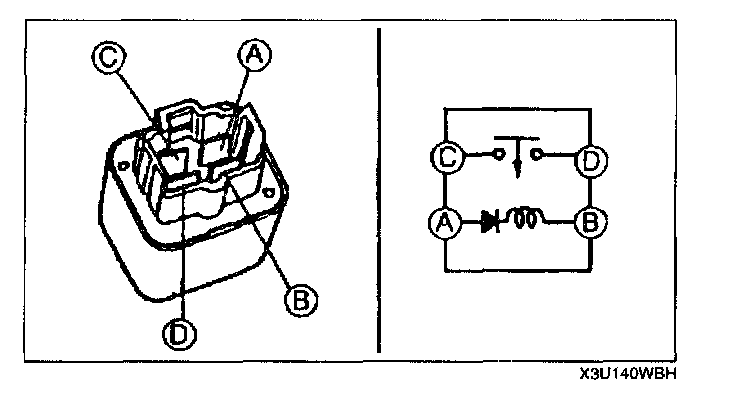
2. Remove the main relay.
3. Inspect for continuity between main relay terminals using an ohmmeter.
- If not as specified, replace the main relay.
- If the main relay is okay, but PCM terminal 71 or 97 voltage is out of specification, perform the "Circuit Open/Short Inspection".
Circuit Open/Short Inspection
1. Remove the PCM.
2. Connect the SST (104 Pin Breakout Box) with the PCM disconnected.
3. Tighten the connector attaching bolt.
Tightening torque
3.0 - 5.4 N.m {30 - 56 kgf.cm, 27 - 48 in.lbf}
4. Inspect the following wiring harness for open or short (Continuity check).
Open circuit
- If there is no continuity, the circuit is open Repair or replace the harness.
- Main relay terminal A (harness-side) and ignition switch (IG1)
- Main relay terminal C (harness-side) and battery positive terminal
- Main relay terminal B (harness-side) and battery negative terminal
Short circuit
- If there is continuity, the circuit is shorted. Repair or replace the harness.
- Main relay terminal A (harness-side) and body ground
- Main relay terminal C (harness-side) and body ground