Curiosii for ever!
: Car repair manuals for everyone.
Home
>>
Lincoln
>>
2011
>>
Town Car V8-4.6L
>>
Repair and Diagnosis
>>
Heating and Air Conditioning
>>
Cabin Temperature Sensor / Switch
>>
Service and Repair
>>
Ambient Air Temperature Sensor
Ambient Air Temperature Sensor
Ambient Air Temperature Sensor
Removal and Installation
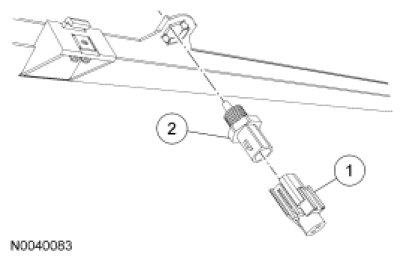
1.
Disconnect the ambient air temperature sensor electrical connector.
2.
Remove the ambient air temperature sensor.
3.
To install, reverse the removal procedure.