Curiosii for ever!
: Car repair manuals for everyone.
Home
>>
Lincoln
>>
2011
>>
MKZ FWD L4-2.5L Hybrid
>>
Repair and Diagnosis
>>
Powertrain Management
>>
Computers and Control Systems
>>
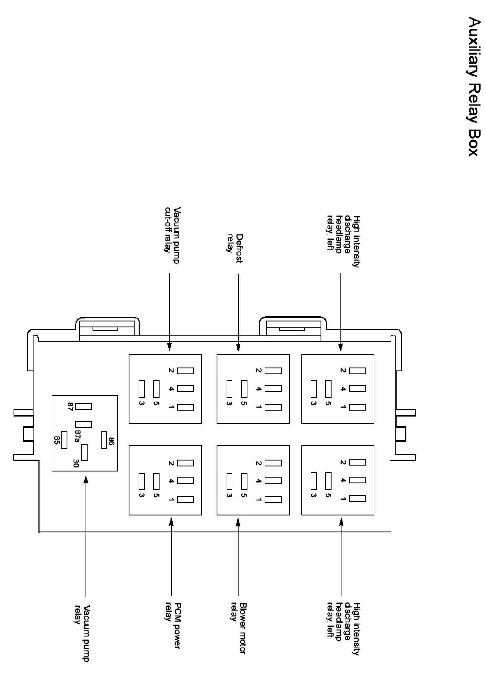
Main Relay (Computer/Fuel System)
>>
Locations
Main Relay (Computer/Fuel System): Locations