Curiosii for ever!
: Car repair manuals for everyone.
Home
>>
Lincoln
>>
2011
>>
MKS AWD V6-3.7L
>>
Repair and Diagnosis
>>
Wiper and Washer Systems
>>
Windshield Washer Switch
>>
Testing and Inspection
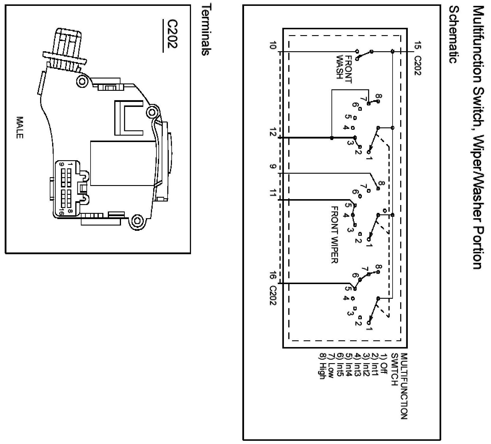
Windshield Washer Switch: Testing and Inspection