Curiosii for ever!: Car repair manuals for everyone.

Pinpoint Test E: DTCs P0615:11, 12 And 13




Starting System

Pinpoint Test E: DTCs P0615:11, 12 and 13

Refer to Wiring Diagram Set 117, Remote Keyless Entry and Alarm for schematic and connector information. Diagrams By Number

Normal Operation

When the Start/Stop switch is pushed to the START position and released along with the brake pedal applied, the PCM receives a starter motor request signal through circuit CDC35 (BU/WH) from the Remote Function Actuator (RFA) module. The customer is no longer in the loop after the initial crank request. The PCM One-Touch Integrated Start (OTIS) feature will take over, and then the PCM will disengage the starter motor based on engine running (rpm threshold), a set crank time has been exceeded or the customer presses the Start/Stop switch again.

- DTC P0615:11 (Starter Relay Circuit: Short to Ground) - RFA module circuit CDC35 (BU/WH) is shorted to ground.
- DTC P0615:12 (Starter Relay Circuit: Short to Battery) - Voltage is present on circuit CDC35 (BU/WH) to the RFA module with the ignition in the OFF position.
- DTC P0615:13 (Starter Relay Circuit: Circuit Open) - RFA module circuit CDC35 (BU/WH) is open.

This pinpoint test is intended to diagnose the following:
- Circuitry
- PCM
- RFA module
- Smart Junction Box (SJB)
- Starter relay



PINPOINT TEST E: DTCs P0615:11, 12 AND 13

-------------------------------------------------
E1 CHECK DTC FAILURE TYPE


- Check the RFA module DTC failure type.
- Is DTC P0615:12 present?

Yes
GO to E2.

No
For DTC P0615:11, GO to E6. For DTC P0615:13 (3.7L vehicles), GO to E10. For DTC P0615:13 (3.5L Gasoline Turbocharged Direct Injection (GTDI) vehicles), GO to E11.

-------------------------------------------------
E2 CHECK CIRCUITS CDC35 (BU/WH) AND CE336 (GN/WH) FOR A SHORT TO BATTERY


NOTICE: Use the correct probe adapter(s) when making measurements. Failure to use the correct probe adapter(s) may damage the connector.

- Disconnect: Starter Relay.
- Disconnect: SJB C2280E.
- Disconnect: PCM C175B.
- Disconnect: RFA Module C2153B.
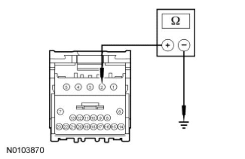
- Measure the voltage between RFA module C2153B-2, (green connector) circuit CDC35 (BU/WH), harness side and ground.




- Is any voltage present?

Yes
REPAIR circuit CDC35 (BU/WH) or CE336 (GN/WH) for short to battery. TEST the system for normal operation.

No
GO to E3.

-------------------------------------------------
E3 CHECK THE STARTER RELAY FOR A SHORT


- Connect: Starter Relay.
- Measure the voltage between RFA module C2153B-2, circuit CDC35 (BU/WH), harness side and ground.




- Is any voltage present?

Yes
INSTALL a new starter relay. TEST the system for normal operation.

No
GO to E4.

-------------------------------------------------
E4 CHECK THE SJB FOR A SHORT


- Disconnect: Starter Relay.
- Connect: SJB C2280E.
- Measure the voltage between RFA module C2153B-2, circuit CDC35 (BU/WH), harness side and ground.




- Is any voltage present?

Yes
INSTALL a new SJB. REFER to Body Control Systems. TEST the system for normal operation.

No
GO to E5.

-------------------------------------------------
E5 CHECK THE PCM FOR A SHORT


- Disconnect: SJB C2280E.
- Connect: PCM C175B.
- Measure the voltage between RFA module C2153B-2, circuit CDC35 (BU/WH), harness side and ground.




- Is any voltage present?

Yes
INSTALL a new PCM. REFER to Computers and Control Systems. TEST the system for normal operation.

No
INSTALL a new RFA module. REFER to Body Control Systems. TEST the system for normal operation.

-------------------------------------------------
E6 CHECK CIRCUIT CDC35 (BU/WH) AND CIRCUIT CE336 (GN/WH) FOR A SHORT TO GROUND


- Disconnect: Starter Relay.
- Disconnect: SJB C2280E.
- Disconnect: PCM C175B.
- Disconnect: RFA Module C2153B.
- Measure the resistance between RFA module C2153B-2, circuit CDC35 (BU/WH), harness side and ground.




- Is the resistance greater than 10,000 ohms?

Yes
GO to E7.

No
REPAIR circuit CDC35 (BU/WH) or CE336 (GN/WH) for short to ground. TEST the system for normal operation.

-------------------------------------------------
E7 ISOLATE THE STARTER RELAY


- Connect: Starter Relay.
- Measure the resistance between RFA module C2153B-2, circuit CDC35 (BU/WH), harness side and ground.




- Is the resistance greater than 10,000 ohms?

Yes
GO to E8.

No
INSTALL a new starter relay. TEST the system for normal operation.

-------------------------------------------------
E8 ISOLATE THE SJB


- Disconnect: Starter Relay.
- Connect: SJB C2280E.
- Measure the resistance between RFA module C2153B-2, circuit CDC35 (BU/WH), harness side and ground.




- Is the resistance greater than 10,000 ohms?

Yes
GO to E9.

No
INSTALL a new SJB. REFER to Body Control Systems. TEST the system for normal operation.

-------------------------------------------------
E9 ISOLATE THE PCM


- Disconnect: SJB C2280E.
- Connect: PCM C175B.
- Measure the resistance between RFA module C2153B-2, circuit CDC35 (BU/WH), harness side and ground.




- Is the resistance greater than 10,000 ohms?

Yes
INSTALL a new RFA module. REFER to Body Control Systems. TEST the system for normal operation.

No
INSTALL a new PCM. REFER to Computers and Control Systems. TEST the system for normal operation.

-------------------------------------------------
E10 CHECK CIRCUIT CDC35 (BU/WH) FOR AN OPEN BETWEEN RFA MODULE AND PCM


- Measure the resistance between the RFA module C2153B-2, circuit CDC35 (BU/WH), harness side and PCM C175B-9, circuit CDC35 (BU/WH), harness side.




- Is the resistance less than 5 ohms?

Yes
GO to E11.

No
REPAIR circuit CDC35 (BU/WH) for an open. TEST the system for normal operation.

-------------------------------------------------
E11 CHECK CIRCUIT CDC35 (BU/WH) FOR AN OPEN BETWEEN RFA MODULE AND PCM


- Measure the resistance between the RFA module C2153B-2, circuit CDC35 (BU/WH), harness side and PCM C1381B-16, circuit CDC35 (BU/WH), harness side.




- Is the resistance less than 5 ohms?

Yes
GO to E12.

No
REPAIR circuit CDC35 (BU/WH) for an open. TEST the system for normal operation.

-------------------------------------------------
E12 CHECK CIRCUIT CDC35 (BU/WH) FOR AN OPEN BETWEEN RFA MODULE AND START DIODE


- Disconnect: Start Diode.
- Measure the resistance between the RFA module C2153B-2, circuit CDC35 (BU/WH), harness side and start diode, circuit CDC35 (BU/WH), harness side.




- Is the resistance less than 5 ohms?

Yes
GO to E13.

No
REPAIR circuit CDC35 (BU/WH) for an open. TEST the system for normal operation.

-------------------------------------------------
E13 CHECK CIRCUIT CE336 (GN/WH) FOR AN OPEN BETWEEN START DIODE AND STARTER RELAY


- Measure the resistance between the start diode, circuit CE336 (GN/WH), harness side and BJB starter relay pin 1, circuit CE336 (GN/WH), harness side.




- Is the resistance less than 5 ohms?

Yes
GO to E14.

No
REPAIR circuit CE336 (GN/WH) for an open. TEST the system for normal operation.

-------------------------------------------------
E14 CHECK CIRCUIT CE336 (GN/WH) FOR AN OPEN BETWEEN STARTER RELAY SJB


- Measure the resistance between the BJB starter relay pin 1, circuit CE336 (GN/WH), harness side and SJB C2280E-8, circuit CE336 (GN/WH), harness side.




- Is the resistance less than 5 ohms?

Yes
GO to E15.

No
REPAIR circuit CE336 (GN/WH) for an open. TEST the system for normal operation.

-------------------------------------------------
E15 CHECK THE STARTER RELAY


- Carry out the Starter Relay component test.

- Did the starter relay pass the component test?

Yes
INSTALL a new RFA module. TEST the system for normal operation.

No
INSTALL a new starter relay. TEST the system for normal operation.

-------------------------------------------------