Curiosii for ever!
: Car repair manuals for everyone.
Home
>>
Lincoln
>>
2009
>>
MKS AWD V6-3.7L
>>
Repair and Diagnosis
>>
Diagrams
>>
Harness
>>
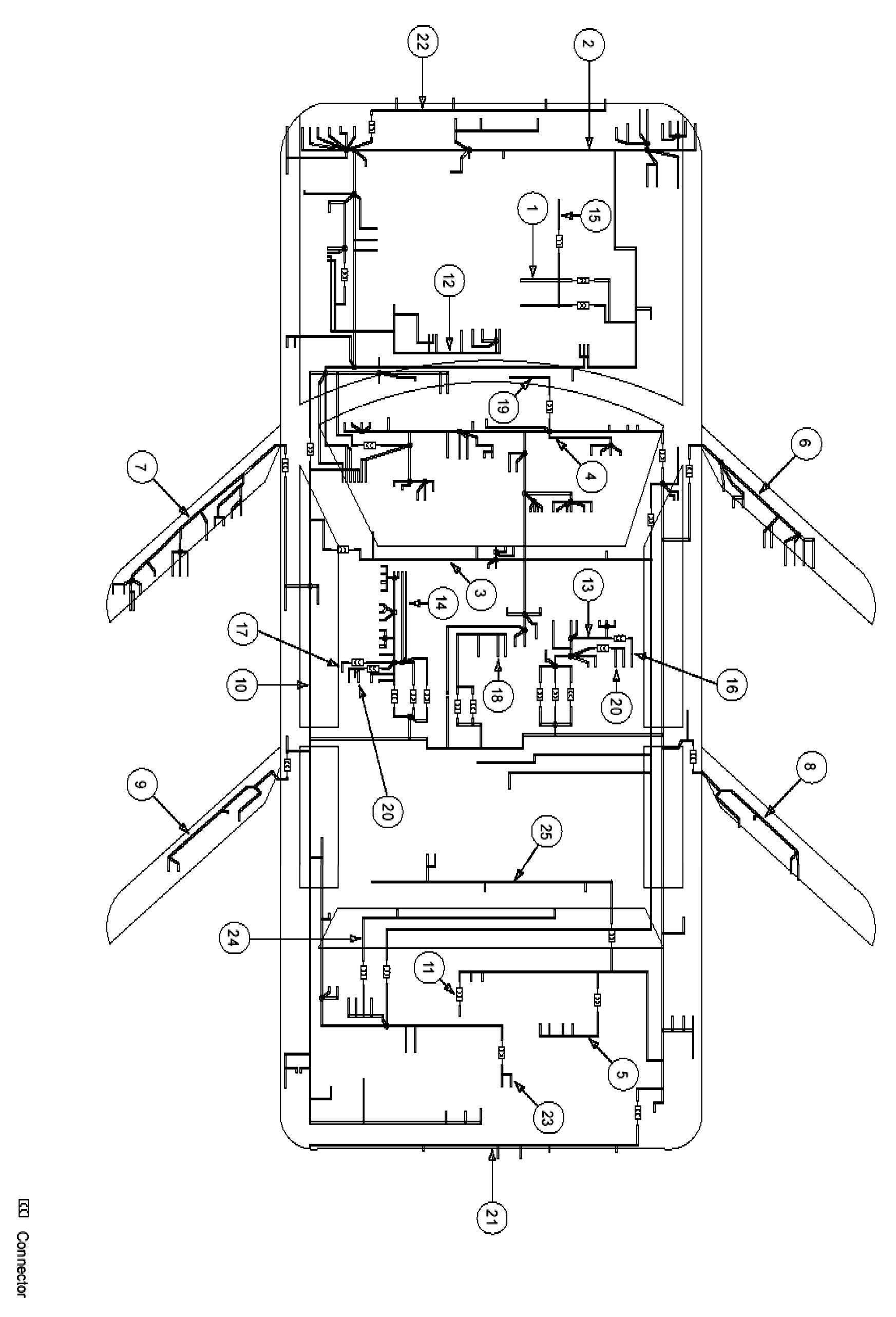
Harness Overview
Harness Overview
Wiring Harness Overview Part 1:
Wiring Harness Overview Part 2: