Curiosii for ever!: Car repair manuals for everyone.

System Specifications

Timing chain guide bolts 10 Nm (89 inch lbs.)
Timing chain tensioner bolts 10 Nm (89 inch lbs.)

Engine Front Cover bolts

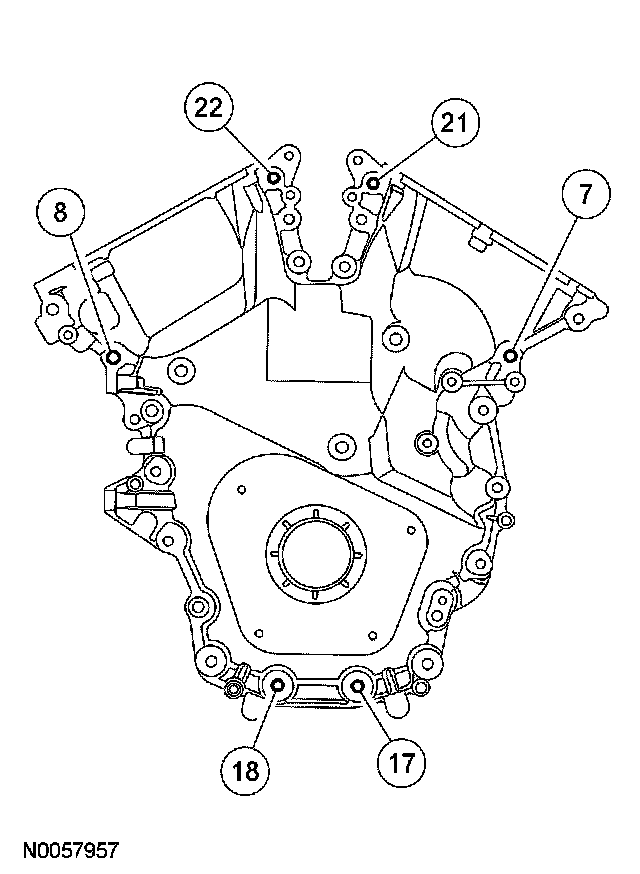
Install the engine front cover and bolts 7, 8, 17, 18, 21 and 22.
^ Tighten in sequence to 10 Nm (89 inch lbs.)





Install the engine mount bracket and the 3 bolts.
^ Tighten in the sequence shown to 15 Nm (11 ft. lbs.)





Tighten the bolts in the following sequence.
^ Tighten bolts 7, 8, 17, 18, 21 and 22 to 24 Nm (18 ft. lbs.)
^ Tighten bolts 23, 24 and 25 to 75 Nm (55 ft. lbs.)





NOTE: The remainder of the engine front cover bolts (1, 2, 3, 4, 5, 6, 9, 10, 11, 12, 13, 14, 15, 16, 19 and 20) must be installed and tightened within 60 minutes of the initial sealant application.

Install bolts 1, 2, 3, 4, 5, 6, 9, 10, 11, 12, 13, 14, 15, 16, 19 and 20 and tighten in the sequence shown in 2 stages:
^ Stage 1: Tighten to 10 Nm (89 inch lbs.)
^ Stage 2: Tighten to 24 Nm (18 ft. lbs.)





Crankshaft pulley bolt
Using the special tool, install the crankshaft pulley washer and new bolt and tighten in 4 stages.
^ Stage 1: Tighten to 120 Nm (89 ft. lbs.).
^ Stage 2: Loosen one full turn.
^ Stage 3: Tighten to 50 Nm (37 ft. lbs.).
^ Stage 4: Tighten an additional 90 degrees.