Curiosii for ever!: Car repair manuals for everyone.

Torque Specifications

RH Cylinder Head
Install a new gasket, the RH cylinder head and 8 new bolts. Tighten in the sequence shown in 5 stages:
^ Stage 1: Tighten to 20 Nm (15 ft. lbs.).
^ Stage 2: Tighten to 35 Nm (26 ft. lbs.).
^ Stage 3: Tighten 90 degrees.
^ Stage 4: Tighten 90 degrees.
^ Stage 5: Tighten 90 degrees.

CAUTION: The cylinder head bolts must be discarded and new bolts must be installed. They are tighten-to-yield designed and cannot be reused.






Install the bolt.
^ Tighten to 10 Nm (89 inch lbs.).





LH cylinder head
Install a new gasket, the LH cylinder head and 8 new bolts. Tighten in the sequence shown in 5 stages:
^ Stage 1: Tighten to 20 Nm (15 ft. lbs.)
^ Stage 2: Tighten to 35 Nm (26 ft. lbs.)
^ Stage 3: Tighten 90 degrees.
^ Stage 4: Tighten 90 degrees.
^ Stage 5: Tighten 90 degrees.

CAUTION: The cylinder head bolts must be discarded and new bolts must be installed. They are tighten-to-yield designed and cannot be reused.






Install the bolt.
^ Tighten to 10 Nm (89 inch lbs.).





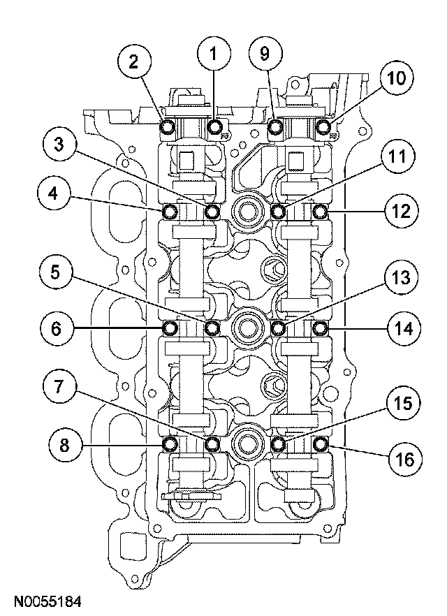
Cylinder head camshaft bearing caps are numbered to verify that they are assembled in their original positions.

RH Camshaft Bearing Caps
Install the 8 camshaft caps and the 16 bolts.
^ Tighten in the sequence shown to 10 Nm (89 inch lbs.)





LH Camshaft Bearing Caps
Install the 8 camshaft caps and the 16 bolts.
^ Tighten in the sequence shown to 10 Nm (89 inch lbs.).





LH camshafts sprocket
Assemble the LH variable camshaft timing (VCT) assembly, the LH exhaust camshaft sprocket and the LH secondary timing chain.
^ Align the colored links with the timing marks.





RH camshafts sprocket
Assemble the RH VCT assembly, the RH exhaust camshaft sprocket and the RH secondary timing chain.
^ Align the colored links with the timing marks.





Upper intake manifold bracket-to-engine bolts - long bracket 24 Nm (18 ft. lbs.)
Upper intake manifold bracket-to-engine bolts - short bracket 10 Nm (89 inch lbs.)
Upper intake manifold-to-bracket bolts 10 Nm (89 inch lbs.)

Upper intake manifold bolts
Using new gaskets, install the upper intake manifold and the 6 bolts.
^ Tighten in the sequence shown to 10 Nm (89 inch lbs.).





Lower intake manifold bolts
Using new intake manifold and thermostat housing gaskets, install the lower intake manifold and the 10 bolts.
^ Tighten in the sequence shown to 10 Nm (89 inch lbs.).





Throttle Body Upper Intake Manifold

Exhaust manifold heat shield bolts 25 Nm (18 ft. lbs.)

RH exhaust manifold studs
Install 6 new RH exhaust manifold studs.
^ Tighten to 12 Nm (9 ft. lbs.).

RH exhaust manifold nuts
Using a new gasket, install the RH exhaust manifold and 6 new nuts.
^ Tighten in the sequence shown to 20 Nm (15 ft. lbs.).