Curiosii for ever!: Car repair manuals for everyone.

Tests HF: Catalyst Efficiency Monitor and Exhaust Systems



PINPOINT TEST HF: CATALYST EFFICIENCY MONITOR AND EXHAUST SYSTEMS

WARNING: Crown Victoria Police Interceptor vehicles equipped with fire suppression system, refer to Section 419-03 for Important Safety Warnings. Failure to follow these instructions may result in personal injury.

This pinpoint test is intended to diagnose the following:

^ catalytic converter
^ exhaust system

Catalyst Efficiency Monitor Overview

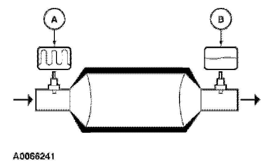
Note: The HQ2S (A) and (B) locations may vary depending on exhaust system configuration. For additional information refer to Catalyst Efficiency Monitor and Catalyst and Exhaust Systems

The catalyst efficiency monitor uses pre and post-catalyst heated oxygen sensors (HO2S) to infer the hydrocarbon (HC) efficiency based on the oxygen storage capacity of the catalyst. Under normal closed-loop fuel conditions high efficiency catalysts have significant oxygen storage. This makes the switching frequency of the post-catalyst HO2S (B) very slow and reduces the amplitude of those switches as compared to the switching frequency and amplitude of the pre-catalyst HO2S (A). As catalyst efficiency deteriorates due to thermal and chemical detenoraUon its ability to store oxygen declines. The post-catalyst HO2S (B) signal begins to switch more rapidly with increasing amplitude approaching the switching frequency and amplitude of the pre-catalyst HO2S (A).

High Catalyst Efficiency

Reference:






Low Catalyst Efficiency

Reference:






HF1 - HF3:





HF4 - HF6:





HF7 - HF8:





HF9 - HF11:





HF12 - HF13: