Curiosii for ever!: Car repair manuals for everyone.

Windshield Glass

WINDSHIELD GLASS


Special Tool(s):






Special Tool(s)

Removal

WARNING: To prevent glass splinters from entering the eyes or cutting the hands, wear safety glasses and heavy gloves when cutting the glass from the vehicle. Failure to follow these instructions may result in personal injury.

1. Remove the cowl panel grille.
2. Remove the windshield moulding.
3. Remove the interior rear view mirror.
4. If equipped, remove the rain sensor module.
5. Remove the 2 A-pillar trim panels.
6. Disconnect the windshield electrical connectors.
7. Lower the front portion of the headliner.
8. Using a soft brush or vacuum, remove dirt and foreign material from the pinch weld.







9. CAUTION:
- Cover the instrument panel in order to prevent possible damage.
- Care must be used to avoid scratching the pinch weld.


NOTE:
- Lubricate the existing urethane adhesive with water to aid the special tool while cutting.
- When cutting the foam inside, first cut the foam dam to access the urethane adhesive.

Using the special tool, starting at the top center of the windshield glass, cut the urethane adhesive away from the glass and work down the sides.







10. Using the special tool, distance the windshield from the body.
11. Remove the dual lock windshield glass stops from the sheet metal frame.
12. Using the special tool, cut the remaining urethane adhesive and remove the windshield.
13. Using a soft brush or vacuum, remove dirt and foreign material from the pinch weld.

Installation

CAUTION: When installing urethane-installed glass parts, the vehicle must not be driven until the urethane has cured. Adequate cure time is specified on the drive away chart for each urethane product as the temperatures and humidity vary. Inadequate or incorrect curing can adversely affect the retention of the windshield glass.

NOTE: For additional material guidelines, refer to the manufacturer's installation information.

1. Dry fit the new windshield glass to the existing urethane bed on the body pinch weld. Align the windshield in the opening for uniform fit and adjust the setting blocks as needed for the best fit.
2. Use tape or non-permanent marking pencil to make alignment marks on the windshield glass (preferably at the setting blocks), and the body to aid in the installation alignment of the new windshield.
3. After alignment, remove the windshield glass and moulding from the vehicle and place them on a stable work surface.







4. NOTE: Avoid scratching the pinch weld. For minor scratches or exposed metal on the pinch weld, see the manufacturer's recommendations.

Using an appropriate tool, trim the urethane adhesive leaving a 1-2 mm (0.04-0.08 in) base of the original equipment urethane on the pinch weld.

5. Clean the inside of the glass surface with an alcohol-free cleaner to make sure the ceramic-coated area is clean.

6. NOTE: If the moulding is already on the windshield glass, proceed to the next step.

Align the "V" notch in the ceramic paint and windshield glass outside moulding at top center. Fully seat the windshield glass outside moulding along the top edge of the windshield glass and along the sides and bottom edges of the windshield glass.

7. Remove the dual lock windshield glass stop adhesive backing.

8. CAUTION: Be sure to use the same brand and cure-rate products for the adhesive and primer. Do not mix different brands of urethane and primer. Refer to the Material Chart.

NOTE: Sika uses the same black primer for the glass and pinch weld area.

If installing a new windshield glass, apply urethane glass primer according to the manufacturer's instructions. Allow at least 6 minutes to dry.







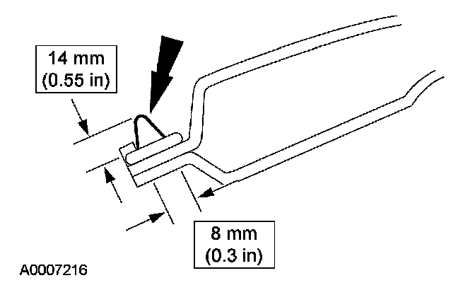
9. Cut the urethane adhesive applicator tip to specification.







10. NOTE: Use either a high-ratio, electric or battery-operated caulk gun that will apply the urethane with less effort and a continuous bead.

Apply urethane adhesive on top of the existing trimmed urethane adhesive bead on the pinch weld. Make sure that all gaps in the urethane adhesive are smoothed into one continuous bead starting and ending at the bottom of the windshield glass near the center.

11. CAUTION: Open the windows to prevent the windshield glass from being pushed out by air pressure if a door is closed.

Install the windshield glass on the pinch weld. Align the windshield glass to the body using the alignment marks while pushing downward to set the stops.

12. CAUTION: When installing urethane-installed glass parts, the vehicle must not be driven until the urethane has cured. Adequate cure time is specified on the drive away chart for each urethane product as the temperatures and humidity vary. Inadequate or incorrect curing can adversely affect the retention of the windshield.

After the urethane has cured, check the windshield seal for air or water leaks through the urethane adhesive bead and add urethane adhesive as necessary.

13. Place 2 strips of tape onto the windshield glass and secure it to the roof panel. This helps avoid misalignment while the urethane cures.
14. Position the headliner.
15. Connect the windshield electrical connectors.
16. Install the 2 A-pillar trim panels.
17. If equipped, install the rain sensor module.
18. Install the interior rear view mirror.
19. Install the windshield moulding.
20. Install the cowl panel grille.