Curiosii for ever!: Car repair manuals for everyone.

Ignition Switch: Service and Repair

Ignition Switch

Removal and Installation
1. Disconnect the battery ground cable.





2. Position the LH instrument panel insulator aside.
^ Remove the three pin-type retainers.





3. Remove the LH instrument panel insulator.
^ Disconnect the courtesy lamp.





4. Remove the lower instrument panel steering column opening cover.
^ Remove the screws.
^ Unhook the parking brake release handle and position aside.
^ Remove the cover.





5. Remove the five bolts and the instrument panel steering column opening cover reinforcement.





6. Disconnect the ignition switch electrical connector.
^ Loosen the bolt.





7. NOTE: The ignition key should be in the OFF position.

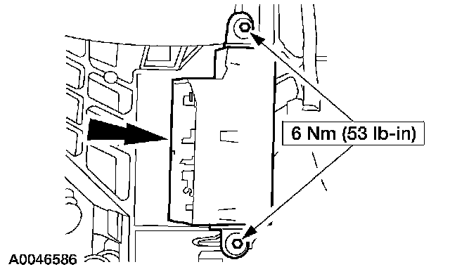
Remove the ignition switch.
^ Remove the bolts.
8. To install, reverse the removal procedure.