Curiosii for ever!: Car repair manuals for everyone.

Cruise Control Servo Cable: Service and Repair

SPEED CONTROL CABLE

REMOVAL







1. Remove the screws and the engine cover.








2. Position the air cleaner resonator aside.
1 Remove the nut.
2 Position the air cleaner resonator aside.







3. Position aside the speed control actuator cable.
1 Remove the bolt.
2 Disconnect the speed control actuator cable from the throttle lever.







4. Depress the locking tab and rotate the speed control actuator cable cap to remove.







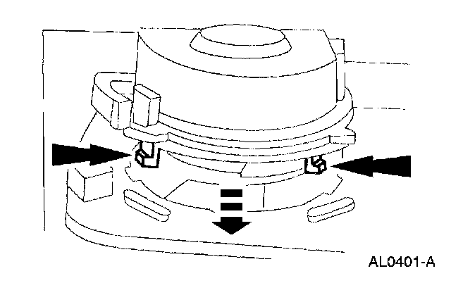
5. Disconnect the speed control actuator cable from the speed control servo pulley.
1 Gently push the retaining spring.
2 Disconnect the speed control actuator cable slug from the speed control servo pulley.

INSTALLATION
1. Pull the cable core wire from the speed control actuator cable cap.







2. Install the speed control cable slug into the speed control servo pulley slot.
1 Gently push the retaining spring.
2 Push the speed control cable slug into the speed control servo pulley slot until the retaining spring snaps back into the seated position.







3. NOTE:
- Make sure the rubber seal is fully seated onto the speed control actuator cable cap.
- Incorrect wrapping of the speed control actuator cable around the speed control servo pulley may result in a high idle condition.

Align the speed control actuator cable cap tabs with the slots in the speed control servo housing.







4. Rotate the speed control actuator cable cap until the locking tab engages.







5. Connect the speed control actuator cable to the throttle lever.
1 Install the bolt.
2 Connect the speed control actuator cable to the throttle lever by snapping into place.

6. Adjust the speed control actuator cable.







7. Install the air cleaner resonator.
1 Position the air cleaner resonator.
2 Install the nut.







8. Install the screws and the engine cover.