Driver Door (DDM) Module
MODULE - DRIVER DOOR (DDM)REMOVAL
1. CAUTION: Prior to removal of the module, it is necessary to upload the module configuration information to a diagnostic tool. This information needs to be downloaded into the new module once installed.
Disconnect the battery ground cable.
2. Remove the driver door trim panel.
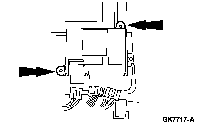
3. Disconnect the electrical connectors from the DDM.
4. Remove the DDM.
INSTALLATION
1. To install, reverse the removal procedure.